宁德时代获得实用新型专利授权:“校正装置以及电池生产设备”

图片来源于网络,如有侵权,请联系删除
证券之星消息,根据天眼查APP数据显示宁德时代(300750)新获得一项实用新型专利授权,专利名为“校正装置以及电池生产设备”,专利申请号为CN202420273247.X,授权日为2025年4月11日。
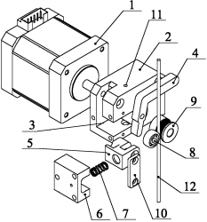
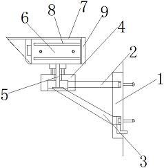
专利摘要:本申请涉及一种校正装置以及电池生产设备,校正装置包括:校正组件,包括基台以及沿预设方向间隔设置在所述基台上的多个校正单元,所述校正单元包括至少两个处于同一高度上的压头;驱动机构,与所述基台连接,所述驱动机构驱动所述基台移动,以使每个所述校正单元上的所述压头将对应工位槽上的电池压装至水平状态。本申请的校正装置能够将倾斜的电池压装至相对工位槽水平的状态,以此使得全部工位槽上的电池处于稳定的水平状态,以此实现对批量电池的位置校正,从而使得全部工位槽上的电池能够准确且流畅的完成如注液、氦检、化成等后续的加工工序,提高电池的加工质量和生产效率。

图片来源于网络,如有侵权,请联系删除
今年以来宁德时代新获得专利授权1268个,较去年同期增加了15.38%。结合公司2024年年报财务数据,2024年公司在研发方面投入了186.07亿元,同比增1.37%。
数据来源:天眼查APP
以上内容为证券之星据公开信息整理,由智能算法生成(网信算备310104345710301240019号),不构成投资建议。
目录 返回
首页
