良信股份获得实用新型专利授权:“一种隔离开关及连接结构”

图片来源于网络,如有侵权,请联系删除
证券之星消息,根据天眼查APP数据显示良信股份(002706)新获得一项实用新型专利授权,专利名为“一种隔离开关及连接结构”,专利申请号为CN202421013619.1,授权日为2025年4月15日。
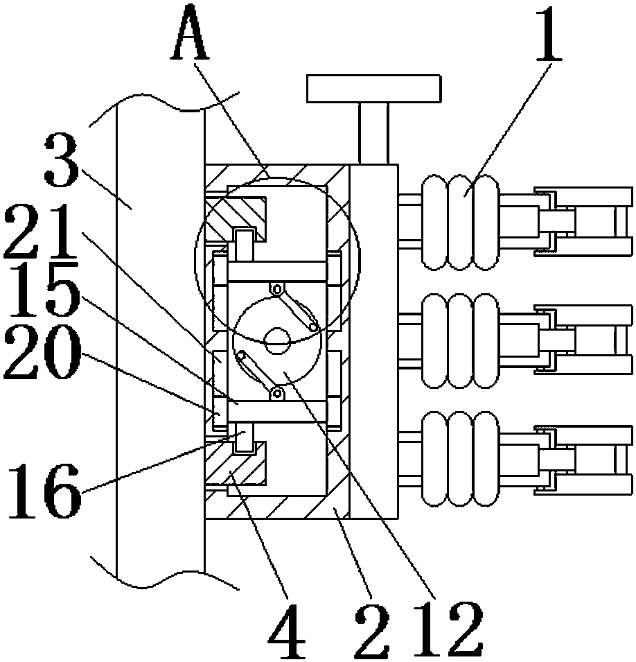
专利摘要:本申请提供一种隔离开关及连接结构,涉及低压电气领域。本申请提供一种隔离开关,其包括相连接的操作机构和触头机构,触头机构包括多个依次层叠设置的触头模块,触头模块包括壳体以及设置于壳体内的动触头组件,动触头组件的转动中心轴与操作机构的转动轴线相互垂直;触头机构与连接结构的PCB板相连接,触头机构包括出气口,出气口的出气方向所在的平面与PCB板的板面平行。该隔离开关能够保证隔离开关的出气口的出气方向所在的平面与PCB板的板面平行,隔离开关分闸或合闸时不易造成PCB板短路,提高了隔离开关的使用安全性与可靠性。

图片来源于网络,如有侵权,请联系删除
今年以来良信股份新获得专利授权143个,较去年同期增加了197.92%。结合公司2024年年报财务数据,2024年公司在研发方面投入了3.12亿元,同比增10.15%。
数据来源:天眼查APP
以上内容为证券之星据公开信息整理,由智能算法生成(网信算备310104345710301240019号),不构成投资建议。
目录 返回
首页
