南微医学获得实用新型专利授权:“用于内窥镜的止血夹”

图片来源于网络,如有侵权,请联系删除
证券之星消息,根据天眼查APP数据显示南微医学(688029)新获得一项实用新型专利授权,专利名为“用于内窥镜的止血夹”,专利申请号为CN202421094476.1,授权日为2025年4月18日。
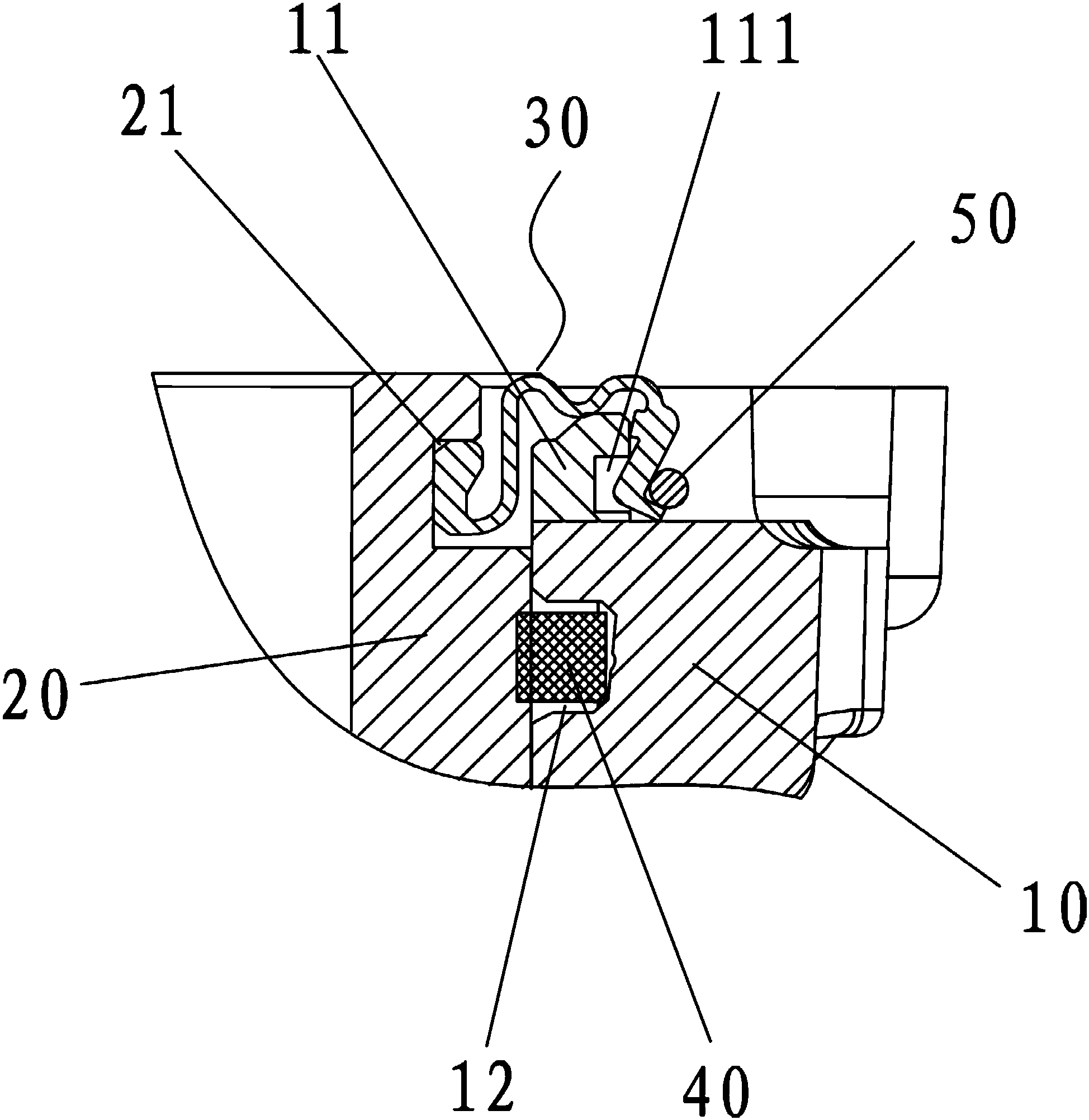
专利摘要:本申请公开了一种用于内窥镜的止血夹,属于医疗器械技术领域,该用于内窥镜的止血夹包括夹座、多个夹片和活动销,夹座具有通道和连通通道的导向槽,通道沿第一方向贯穿夹座;夹片的至少部分设置于通道内;活动销包括本体和两个第一限位部,本体穿设于通道和导向槽,并与多个夹片连接,两个第一限位部与所述本体连接,并分别抵接于夹座;活动销被配置为受到沿第一方向的力时,能够沿导向槽移动,并带动多个夹片相对于夹座在闭合位置和打开位置之间活动。本申请通过设置能够在导向槽内活动的活动销对夹片进行导向,避免夹片在移动过程中的朝向改变。此外,通过设置第一限位部以限制活动销的移动,从而使得止血夹的操作更加容易。

图片来源于网络,如有侵权,请联系删除
今年以来南微医学新获得专利授权18个,较去年同期增加了80%。结合公司2024年中报财务数据,2024上半年公司在研发方面投入了6958.07万元,同比增1.32%。
数据来源:天眼查APP
以上内容为证券之星据公开信息整理,由智能算法生成(网信算备310104345710301240019号),不构成投资建议。
目录 返回
首页
