拓普集团获得发明专利授权:“一种汽车刹车用电磁阀的密封性能检测设备”

图片来源于网络,如有侵权,请联系删除
证券之星消息,根据天眼查APP数据显示拓普集团(601689)新获得一项发明专利授权,专利名为“一种汽车刹车用电磁阀的密封性能检测设备”,专利申请号为CN202010636784.2,授权日为2025年5月9日。
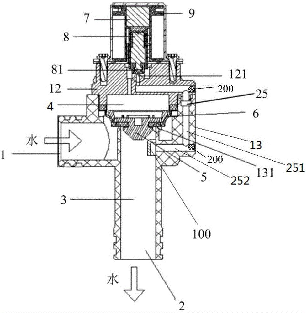
专利摘要:本发明公开了一种汽车刹车用电磁阀的密封性能检测设备,包括气密性检漏仪,所述的气密性检漏仪通过气管与真空泵和气源相连,所述的气密性检漏仪通过气管与常开阀密封性检测工装或常闭阀密封性检测工装相连,所述的常开阀密封性检测工装和常闭阀密封性检测工装均包括上下套接的上底座和下底座,所述的上底座和下底座之间安装有常开阀测试组件或者常闭阀测试组件。本发明可以实现快速检测电磁阀阀芯和阀口零件的密封性,有助于提高后期生产线装配时电磁阀成品的合格率。

图片来源于网络,如有侵权,请联系删除
今年以来拓普集团新获得专利授权58个,较去年同期增加了314.29%。结合公司2024年年报财务数据,2024年公司在研发方面投入了12.24亿元,同比增24.11%。
数据来源:天眼查APP
以上内容为证券之星据公开信息整理,由AI算法生成(网信算备310104345710301240019号),不构成投资建议。
目录 返回
首页
