晶合集成获得发明专利授权:“一种半导体器件的制备方法”

图片来源于网络,如有侵权,请联系删除
证券之星消息,根据天眼查APP数据显示晶合集成(688249)新获得一项发明专利授权,专利名为“一种半导体器件的制备方法”,专利申请号为CN202510114862.5,授权日为2025年5月16日。
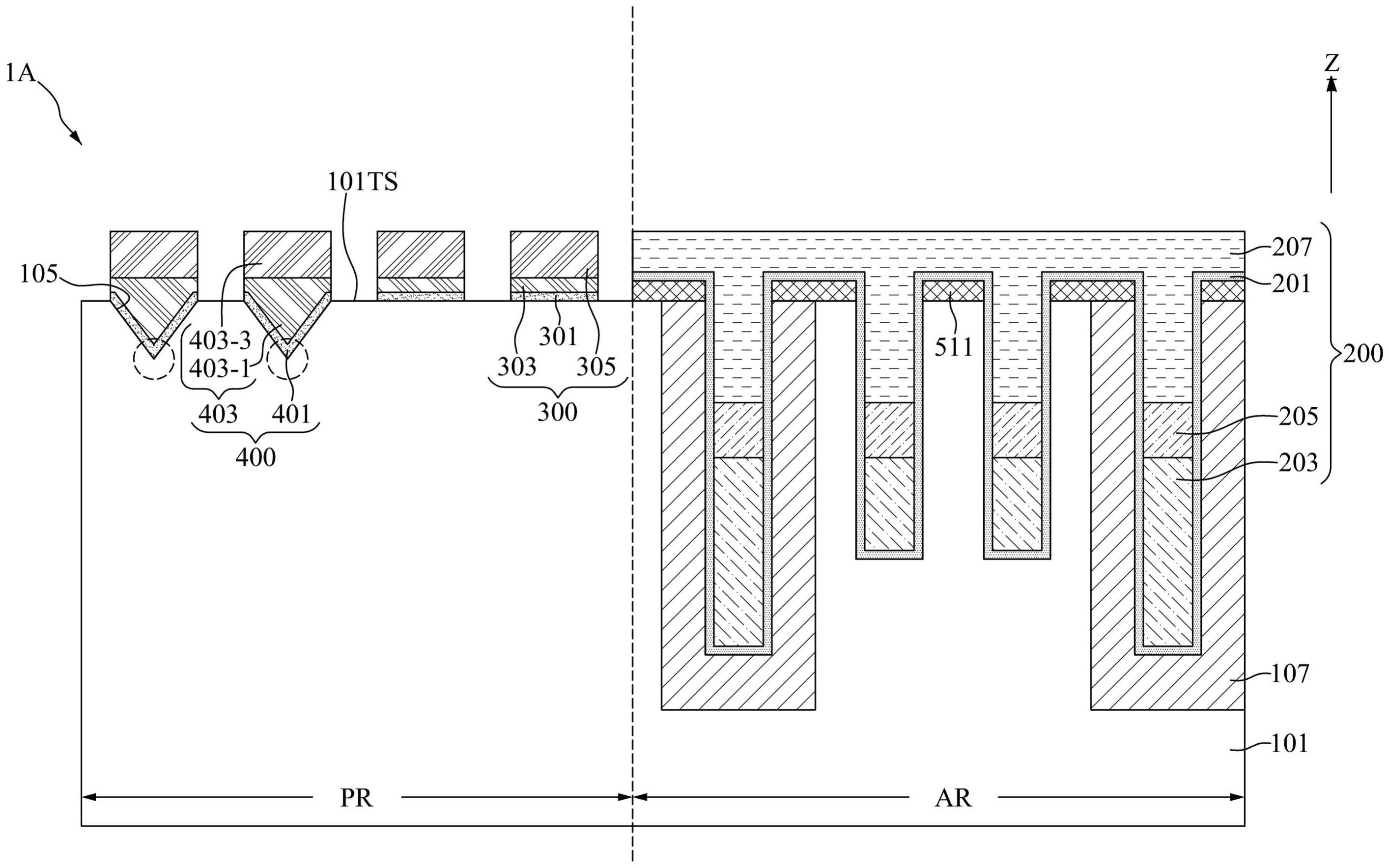
专利摘要:本发明提供一种半导体器件的制备方法,半导体器件的制备方法,包括以下步骤:提供一衬底,衬底上形成有间隔设置的栅极结构,每个栅极结构两侧均设置有侧墙结构;形成盖帽保护层,盖帽保护层覆盖栅极结构的上表面以及侧墙结构靠近栅极结构上表面的表面;通过干法刻蚀工艺和湿法刻蚀工艺依次刻蚀衬底形成西格玛沟槽,并在西格玛沟槽中形成硅锗外延层,干法刻蚀工艺刻蚀消耗去除盖帽保护层;去除侧墙结构。本发明通过增加形成盖帽保护层的步骤,使得盖帽保护层可以在干法刻蚀工艺中保护所述栅极结构和侧墙结构,避免了栅极硬掩模的过度刻蚀以及侧墙结构的过度刻蚀的问题发生,有效保护了栅极硬掩模,从而保留了足够的制程窗口。
今年以来晶合集成新获得专利授权136个,较去年同期增加了7.94%。结合公司2024年年报财务数据,2024年公司在研发方面投入了12.84亿元,同比增21.41%。
数据来源:天眼查APP
以上内容为证券之星据公开信息整理,由AI算法生成(网信算备310104345710301240019号),不构成投资建议。
目录 返回
首页
