金发科技获得实用新型专利授权:“一种开合结构及具有其的过滤装置”

图片来源于网络,如有侵权,请联系删除
证券之星消息,根据天眼查APP数据显示金发科技(600143)新获得一项实用新型专利授权,专利名为“一种开合结构及具有其的过滤装置”,专利申请号为CN202422048379.5,授权日为2025年7月11日。
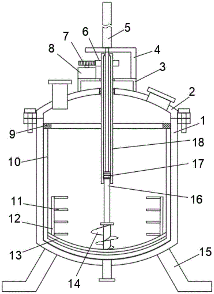
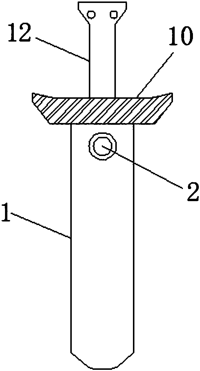
专利摘要:本实用新型涉及塑料加工设备的技术领域,更具体地,涉及一种开合结构及具有其的过滤装置,开合结构包括螺纹连接的主体和盖体,所述盖体包括支撑组件和由驱动电机驱动转动的旋转组件,所述支撑组件和旋转组件同轴转动连接,所述旋转组件与所述主体螺纹连接,所述支撑组件与所述主体转动连接;过滤装置,包括排渣螺筒、排渣螺杆以及如前所述的开合结构,所述排渣螺杆转动设于排渣螺筒内,所述主体位于所述排渣螺筒的端部。本实用新型的开合结构及具有其的过滤装置,通过驱动电机驱动旋转组件转动实现盖体相对主体的关闭和打开,提高开合效率,省去人工操作的环节,避免人工在操作的过程中发生烫伤。

图片来源于网络,如有侵权,请联系删除
今年以来金发科技新获得专利授权146个,较去年同期减少了6.41%。结合公司2024年年报财务数据,2024年公司在研发方面投入了24.9亿元,同比增26.2%。
通过天眼查大数据分析,金发科技股份有限公司共对外投资了35家企业,参与招投标项目123次;财产线索方面有商标信息351条,专利信息3495条,著作权信息13条;此外企业还拥有行政许可310个。
数据来源:天眼查APP
以上内容为证券之星据公开信息整理,由AI算法生成(网信算备310104345710301240019号),不构成投资建议。
目录 返回
首页
