泰尔股份获得实用新型专利授权:“一种万向联轴器法兰叉结构”

图片来源于网络,如有侵权,请联系删除
证券之星消息,根据天眼查APP数据显示泰尔股份(002347)新获得一项实用新型专利授权,专利名为“一种万向联轴器法兰叉结构”,专利申请号为CN202422496216.3,授权日为2025年7月11日。
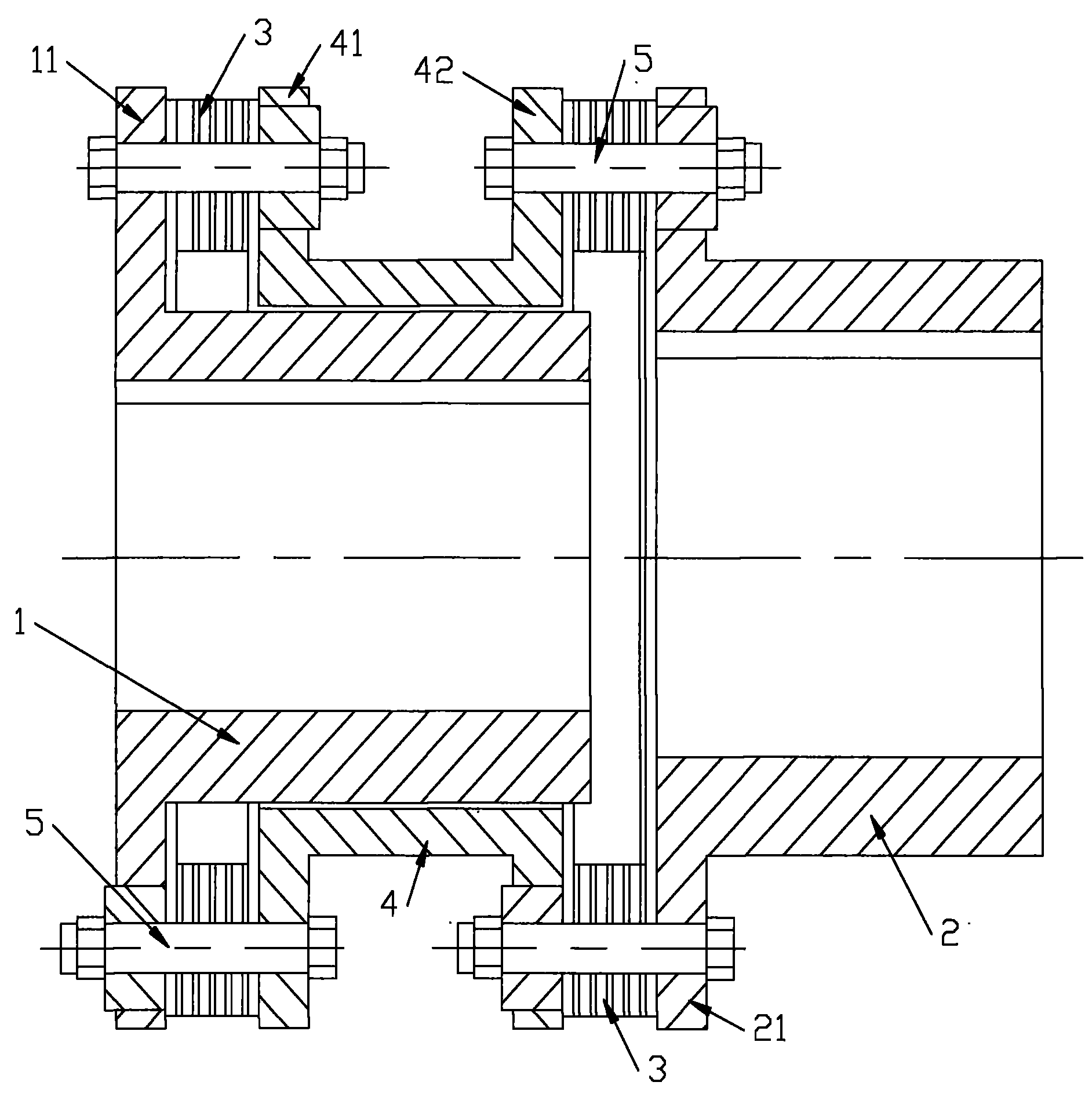
专利摘要:本实用新型公开了一种万向联轴器法兰叉结构,属于传动装置技术领域。本实用新型包括叉头本体以及法兰盘,所述的叉头本体和法兰盘之间通过公、母止口呈相互插接;所述公、母止口的止口端面的外周壁上各开设有一缺口,两个缺口合并后形成一环形焊缝,且该缺口的深度小于止口端面的厚度。本实用新型的一种万向联轴器法兰叉结构,叉头本体和法兰盘之间采用分体式结构,相比于传统的一体式结构设计,叉头本体带有型腔的一端标准化,另一端可连接多种结构形式的法兰盘,以使得法兰盘直径、厚度及中心高的尺寸能够根据客户需求而设计。而无需进行整个法兰叉的重新铸件,从而可降低生产周期以及生产成本。

图片来源于网络,如有侵权,请联系删除
今年以来泰尔股份新获得专利授权19个,较去年同期减少了45.71%。结合公司2024年年报财务数据,2024年公司在研发方面投入了6404.78万元,同比增8.97%。
通过天眼查大数据分析,泰尔重工股份有限公司共对外投资了25家企业,参与招投标项目1819次;财产线索方面有商标信息74条,专利信息543条,著作权信息45条;此外企业还拥有行政许可9个。
数据来源:天眼查APP
以上内容为证券之星据公开信息整理,由AI算法生成(网信算备310104345710301240019号),不构成投资建议。
目录 返回
首页
