中国电研获得实用新型专利授权:“一种具有可自动切换功能的滚边胎膜机构”

图片来源于网络,如有侵权,请联系删除
证券之星消息,根据天眼查APP数据显示中国电研(688128)新获得一项实用新型专利授权,专利名为“一种具有可自动切换功能的滚边胎膜机构”,专利申请号为CN202420189045.7,授权日为2025年3月4日。
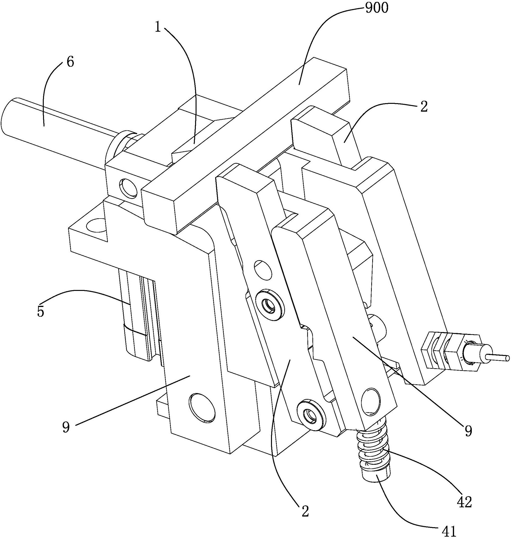
专利摘要:本实用新型公开了一种具有可自动切换功能的滚边胎膜机构,其包括主体框架,在自动生产线上设有工装夹具台,在工装夹具台的侧边设有机器人手臂,在工装夹具台上设有滚边胎膜机构的安装空位,安装空位的中部设有辅助支撑底座,安装空位的两侧分别设有定位销,在工装夹具台上设有气缸夹紧单元,安装空位处还设有第一电气快插模块,主体框架的下面中部设有底座支撑块,主体框架的下面两侧分别设有定位套,主体框架上设有第二电气快插模块,主体框架的外侧固定设有柔性连接母盘,机器人手臂上设有柔性连接公盘。本实用新型能够通过机器人手臂对滚边胎膜机构进行切换,从而适应不同车型的生产,为柔性化生产提供硬件基础。
今年以来中国电研新获得专利授权14个,较去年同期增加了100%。结合公司2024年中报财务数据,2024上半年公司在研发方面投入了1.67亿元,同比增13.11%。
数据来源:天眼查APP
以上内容为证券之星据公开信息整理,由智能算法生成(网信算备310104345710301240019号),不构成投资建议。
目录 返回
首页
