海油发展获得实用新型专利授权:“一种适用于金属管绝氧低温焊封的装置”

图片来源于网络,如有侵权,请联系删除
证券之星消息,根据天眼查APP数据显示海油发展(600968)新获得一项实用新型专利授权,专利名为“一种适用于金属管绝氧低温焊封的装置”,专利申请号为CN202422260826.3,授权日为2025年11月14日。
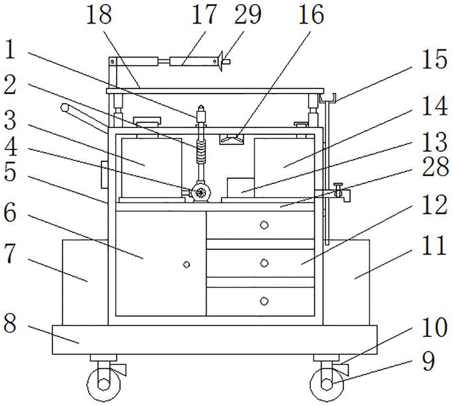
专利摘要:本实用新型公开了一种适用于金属管绝氧低温焊封的装置,包括真空釜、焊接盘和冷却组件,真空釜内设有用于提供真空环境的真空内腔;焊接盘设于真空内腔中,焊接盘中设有夹持器,夹持器用于固定待焊封的金属管,冷却组件设于夹持器内,冷却组件用于冷却金属管。本实用新型抽真空后通入高纯氩气的方式可快速、高效地除去金属管内地氧气、氮气以及二氧化碳,绝氧效果显著,易于操作;本实用新型制冷器可使冷却液快速降温,阻断焊接产生高温对金属管内实验样品的影响。

图片来源于网络,如有侵权,请联系删除
今年以来海油发展新获得专利授权186个,较去年同期减少了5.1%。结合公司2025年中报财务数据,今年上半年公司在研发方面投入了4.32亿元,同比增1.2%。
通过天眼查大数据分析,中海油能源发展股份有限公司共对外投资了62家企业,参与招投标项目48662次;财产线索方面有商标信息103条,专利信息4195条,著作权信息388条;此外企业还拥有行政许可61个。
数据来源:天眼查APP
以上内容为证券之星据公开信息整理,由AI算法生成(网信算备310104345710301240019号),不构成投资建议。
目录 返回
首页
