德明利获得实用新型专利授权:“一种料笼收供料装置”

图片来源于网络,如有侵权,请联系删除
证券之星消息,根据天眼查APP数据显示德明利(001309)新获得一项实用新型专利授权,专利名为“一种料笼收供料装置”,专利申请号为CN202422042660.8,授权日为2025年6月27日。
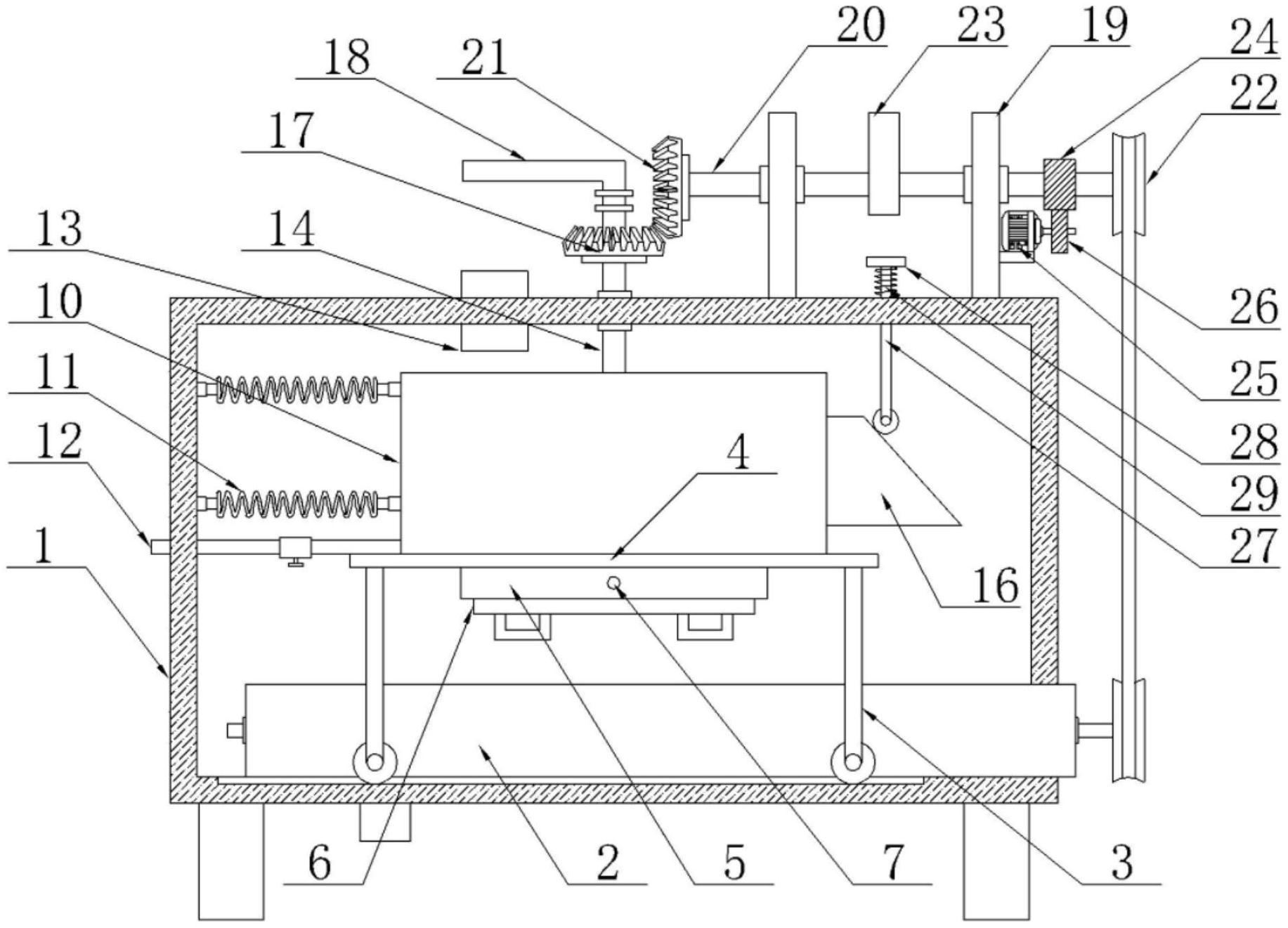
专利摘要:本实用新型公开了一种料笼收供料装置,涉及测试设备技术领域,所述料笼收供料装置包括第一收供料区和第二收供料区,所述第一收供料区和第二收供料区均呈L状,且第一收供料区和第二收供料区相对称设置;所述第一收供料区和第二收供料区均包括进料位、收供料位以及出料位;所述收供料位设置于进料位与出料位之间,且第一收供料区和第二收供料区的进料位以及收供料位均相互靠近。本实用新型的有益效果:提高了工作效率。
今年以来德明利新获得专利授权24个,较去年同期增加了242.86%。结合公司2024年年报财务数据,2024年公司在研发方面投入了2.03亿元,同比增88.14%。
通过天眼查大数据分析,深圳市德明利技术股份有限公司共对外投资了6家企业,参与招投标项目24次;财产线索方面有商标信息35条,专利信息289条,著作权信息95条;此外企业还拥有行政许可27个。
数据来源:天眼查APP
以上内容为证券之星据公开信息整理,由AI算法生成(网信算备310104345710301240019号),不构成投资建议。
目录 返回
首页
