石化油服获得实用新型专利授权:“一种用于监测钻井漏失状态下环空液面的系统”

图片来源于网络,如有侵权,请联系删除
证券之星消息,根据天眼查APP数据显示石化油服(600871)新获得一项实用新型专利授权,专利名为“一种用于监测钻井漏失状态下环空液面的系统”,专利申请号为CN202422161212.X,授权日为2025年6月27日。
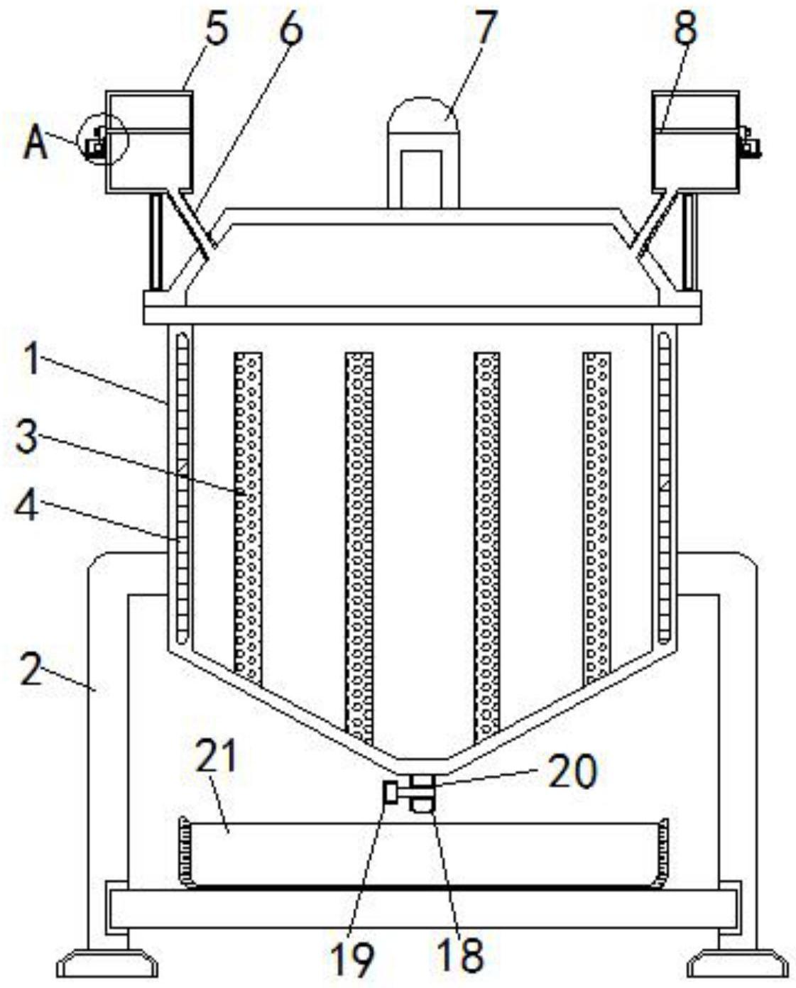
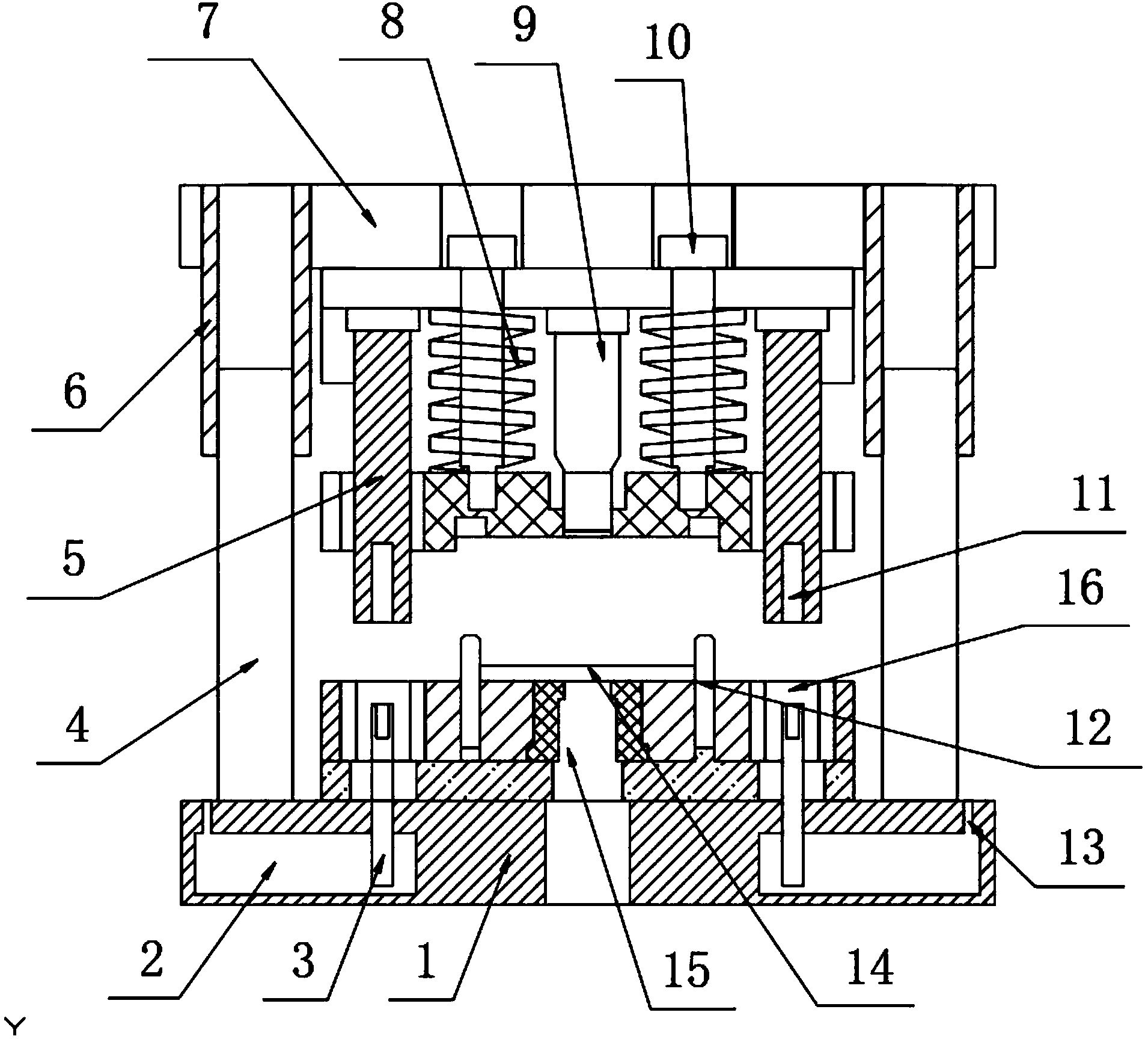
专利摘要:本实用新型公开了一种用于监测钻井漏失状态下环空液面的系统,包括:井口暂堵装置,其用于在钻井漏失时实现对井筒上端口的暂堵,以阻断声波向上传播途径;环空液面监测装置,其设置在压井管汇上,用于采用声波测量技术来测量表征环空液面动态变化特征的探测信号;监测装置,其用于根据探测信号,获得动态环控液面测量值。本实用新型在漏失状态下,可不关闭封井器,连续监测环空液面。

图片来源于网络,如有侵权,请联系删除
今年以来石化油服新获得专利授权141个,较去年同期减少了29.15%。结合公司2024年年报财务数据,2024年公司在研发方面投入了22.47亿元,同比增7.84%。
通过天眼查大数据分析,中石化石油工程技术服务股份有限公司共对外投资了14家企业,参与招投标项目123次;财产线索方面有商标信息42条,专利信息1687条,著作权信息1条;此外企业还拥有行政许可2个。
数据来源:天眼查APP
以上内容为证券之星据公开信息整理,由AI算法生成(网信算备310104345710301240019号),不构成投资建议。
目录 返回
首页
