中国石化获得实用新型专利授权:“一种完井管柱”

图片来源于网络,如有侵权,请联系删除
证券之星消息,根据天眼查APP数据显示中国石化(600028)新获得一项实用新型专利授权,专利名为“一种完井管柱”,专利申请号为CN202422214655.0,授权日为2025年6月27日。
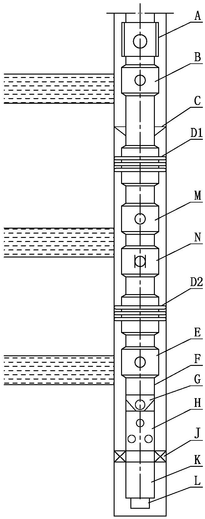
专利摘要:本实用新型提供了一种完井管柱,包括:下部支撑管柱和上部完井管柱,下部支撑管柱的顶部设置有封隔器,封隔器的下方设置有封堵阀,封堵阀设置于下部支撑管柱的内部,上部完井管柱的下端设置有冲洗管道,冲洗管道插入下部支撑管柱内,以使得下部支撑管柱与上部完井管柱连接成一体,冲洗管道的上方设置有液压封隔器。本实用新型能够直接实现对储层的临时封堵,进而保证井控安全,避免造成储层污染,同时彻底避免井控风险。

图片来源于网络,如有侵权,请联系删除
今年以来中国石化新获得专利授权1497个,较去年同期减少了45.4%。结合公司2024年年报财务数据,2024年公司在研发方面投入了152.15亿元,同比增8.92%。
通过天眼查大数据分析,中国石油化工股份有限公司共对外投资了261家企业,参与招投标项目15225次;财产线索方面有商标信息106条,专利信息89858条,著作权信息1102条;此外企业还拥有行政许可39个。
数据来源:天眼查APP
以上内容为证券之星据公开信息整理,由AI算法生成(网信算备310104345710301240019号),不构成投资建议。
目录 返回
首页
