梓�H宫获得实用新型专利授权:“一种药材的小包装输送装置”

图片来源于网络,如有侵权,请联系删除
证券之星消息,根据天眼查APP数据显示梓�H宫(832566)新获得一项实用新型专利授权,专利名为“一种药材的小包装输送装置”,专利申请号为CN202422627675.0,授权日为2025年9月16日。
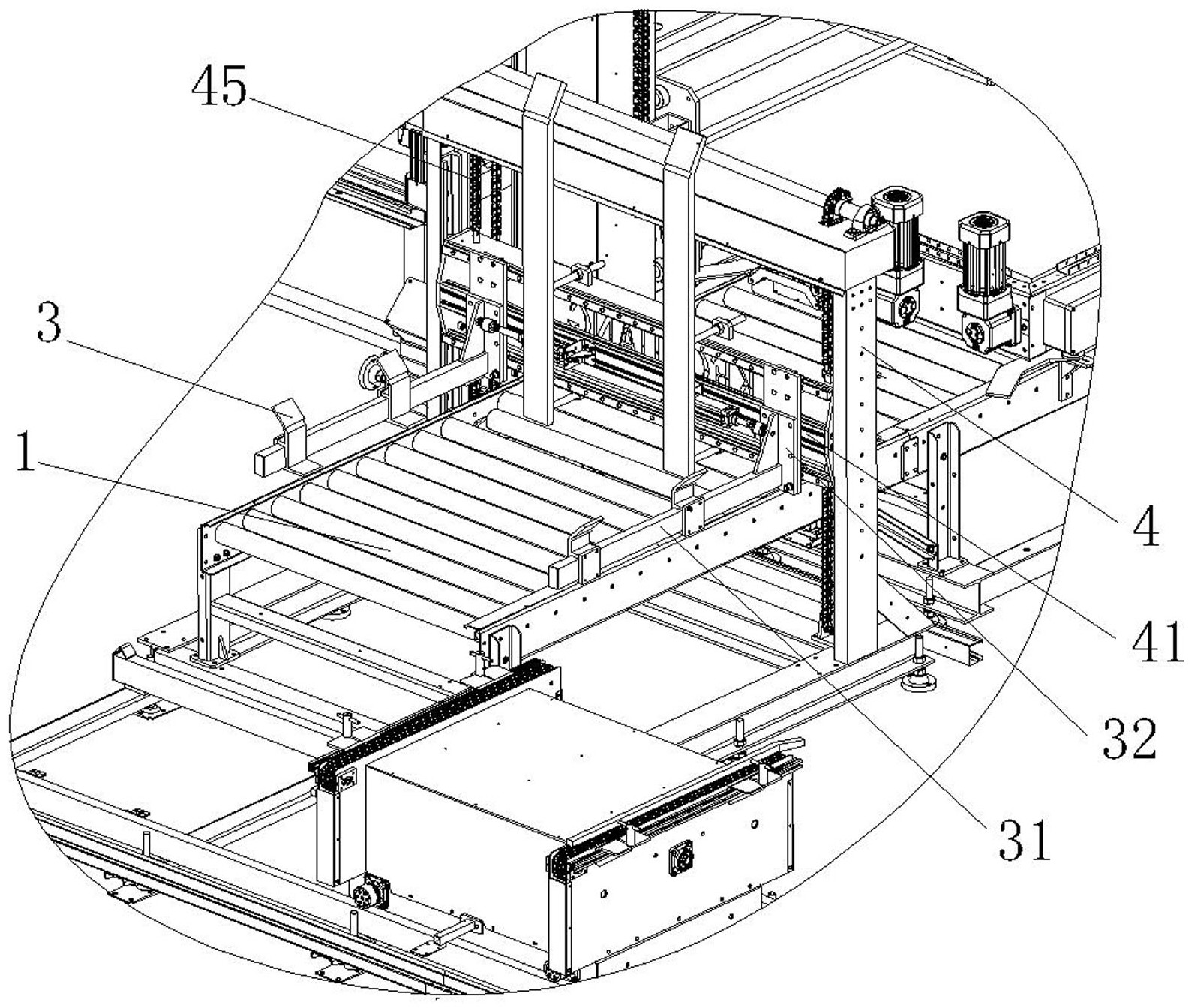
专利摘要:本实用新型涉及一种药材的小包装输送装置,包括安装架,所述安装架的底部沿左右方向依次固定有多组支架,所述安装架的左侧沿前后方向对称开设有两组放置槽,两组所述放置槽内滑动设置有滑动架,所述滑动架内腔的左侧和安装架内腔的右侧均转动装设有两组传动滚筒,所述安装架正面和背面的左侧均固定有凸块,且凸块上滑动设置有限位板,所述限位板的底端固定有底架,所述底架内转动装设有导向滚筒,所述导向滚筒和两组传动滚筒上传动连接有传动皮带,所述安装架和底架上均设置有辅助调整组件,通过设置辅助调整组件,可根据生产需要对输送药材的输送装置的整体输送长度进行自由控制,提高了输送装置的整体适用性。
今年以来梓�H宫新获得专利授权10个。结合公司2025年中报财务数据,今年上半年公司在研发方面投入了393.72万元,同比减41.68%。
通过天眼查大数据分析,四川梓�H宫药业股份有限公司共对外投资了4家企业,参与招投标项目1173次;财产线索方面有商标信息71条,专利信息73条;此外企业还拥有行政许可90个。
数据来源:天眼查APP
以上内容为证券之星据公开信息整理,由AI算法生成(网信算备310104345710301240019号),不构成投资建议。
目录 返回
首页
