柳 工获得实用新型专利授权:“一种油缸防护装置”

图片来源于网络,如有侵权,请联系删除
证券之星消息,根据天眼查APP数据显示柳 工(000528)新获得一项实用新型专利授权,专利名为“一种油缸防护装置”,专利申请号为CN202423020528.3,授权日为2025年9月26日。
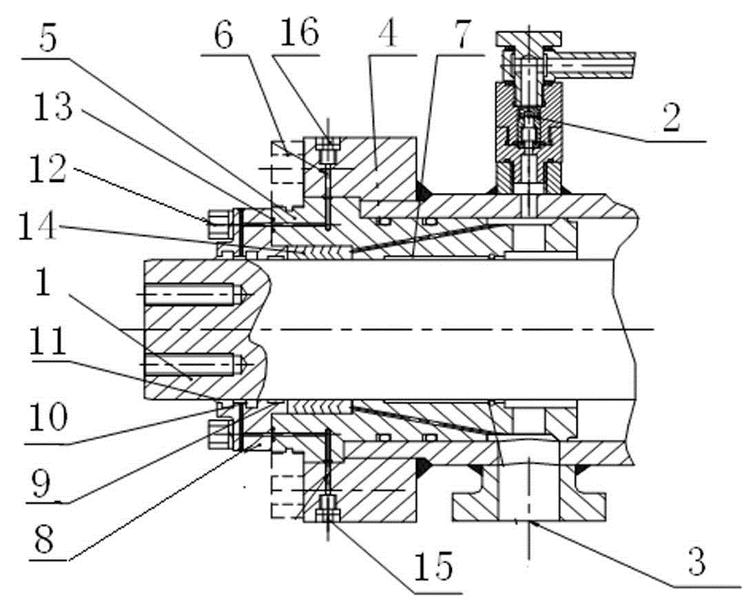
专利摘要:本实用新型公开了一种油缸防护装置,包括装配板和压板,所述装配板设有通孔,所述通孔处安装有滤网,所述滤网铺设于所述装配板的其中一面,且所述滤网覆盖所述装配板的通孔,所述压板绕所述装配板的所述通孔周围设置,所述压板与所述装配板可拆卸连接,所述滤网设置于所述压板和所述装配板之间,其中,所述滤网为钢丝网,由于压板与装配板之间的可拆卸连接,使得装配于压板和装配板之间的滤网更换或清洁更加容易。钢丝网相对于刚性的防护网,能够对飞来的石头或其他物体起到缓冲作用,减少冲击力,从而有效地保护油缸免受直接损伤,并且柔性钢丝网因其良好的弹性和恢复性,在长期使用中不易因撞击而永久变形或损坏,比传统的刚性防护网更加耐用。
今年以来柳 工新获得专利授权198个,较去年同期增加了69.23%。结合公司2025年中报财务数据,今年上半年公司在研发方面投入了6.08亿元,同比增25.63%。
通过天眼查大数据分析,广西柳工机械股份有限公司共对外投资了39家企业,参与招投标项目1217次;财产线索方面有商标信息88条,专利信息2854条,著作权信息150条;此外企业还拥有行政许可516个。
数据来源:天眼查APP
以上内容为证券之星据公开信息整理,由AI算法生成(网信算备310104345710301240019号),不构成投资建议。
目录 返回
首页
