岱峰财经

石化机械获得发明专利授权:“L型钻台面机械手布线装置”

27 09月
作者:小微|{/foreach}{/if}

石化机械获得发明专利授权:“L型钻台面机械手布线装置”
图片来源于网络,如有侵权,请联系删除

证券之星消息,根据天眼查APP数据显示石化机械(000852)新获得一项发明专利授权,专利名为“L型钻台面机械手布线装置”,专利申请号为CN202211720022.6,授权日为2025年9月26日。

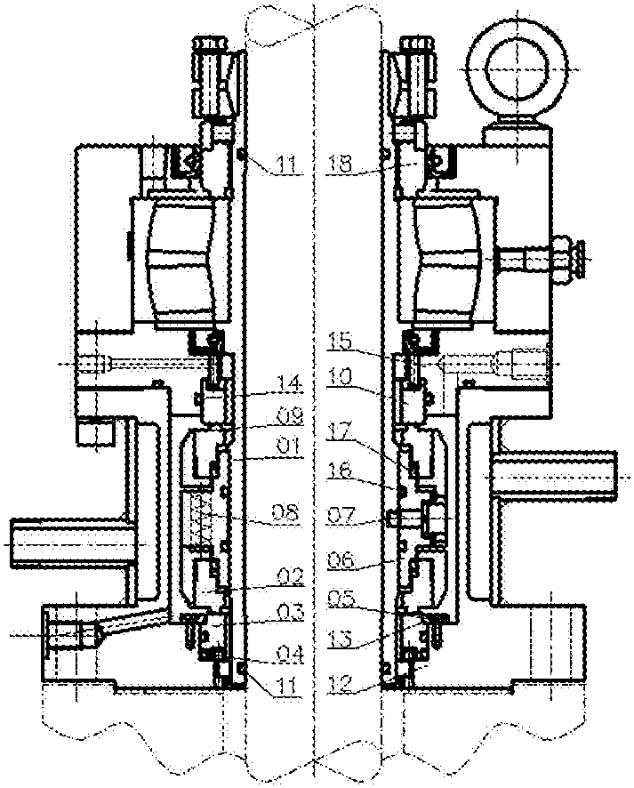
专利摘要:本发明提供一种L型钻台面机械手布线装置,包括支撑框架,支撑框架的上部垂直设置有第一轨道和第二轨道,第一轨道,第一轨道和第二轨道距离近的一侧通过转动轨道连接,转动轨道用于对第一轨道和第二轨道进行延长,还设有滑动底座,滑动底座分别和第一轨道、第二轨道、转动轨道滑动连接,第一轨道的下侧设置有第二线缆管,支撑框架的上侧设置有第一线缆管,第二线缆管的高度高于第一线缆管,滑动底座内设有线缆卷筒,线缆束绕经线缆卷筒后分别贯穿第一线缆管和第一导轨引出。本结构简单可靠、稳定性强、转动时能够对机械手的线缆进行保护,从而避免电缆的摩擦损坏,更加安全可靠,操作方便,并且能够适应各种钻台分块结构形式和重载作业工况。

石化机械获得发明专利授权:“L型钻台面机械手布线装置”
图片来源于网络,如有侵权,请联系删除

今年以来石化机械新获得专利授权87个,较去年同期减少了9.38%。结合公司2025年中报财务数据,今年上半年公司在研发方面投入了9934.02万元,同比减39.73%。

通过天眼查大数据分析,中石化石油机械股份有限公司共对外投资了15家企业,参与招投标项目1558次;财产线索方面有商标信息1条,专利信息1684条,著作权信息39条;此外企业还拥有行政许可25个。

数据来源:天眼查APP

以上内容为证券之星据公开信息整理,由AI算法生成(网信算备310104345710301240019号),不构成投资建议。

浏览65.4k
返回
目录
返回
首页
2022-2024年阿塞拜疆新能源行业吸引投资超6亿美元 尼罗州拟新建工业城

Copyright © 2024 dw 版权所有

备案号: 蜀ICP备2024051291号-16

岱峰财经专业为您提供经济要闻、独家热点、新讯首推、金融动态、基金股市、市场动态等财经方面资讯,岱峰财经是一个专业财经领域资讯服务者。

本站部分内容为转载,不代表本站立场,如有侵权请联系处理。