蒙草生态获得实用新型专利授权:“一种混合草原料除磁装置”

图片来源于网络,如有侵权,请联系删除
证券之星消息,根据天眼查APP数据显示蒙草生态(300355)新获得一项实用新型专利授权,专利名为“一种混合草原料除磁装置”,专利申请号为CN202421925325.6,授权日为2025年6月24日。
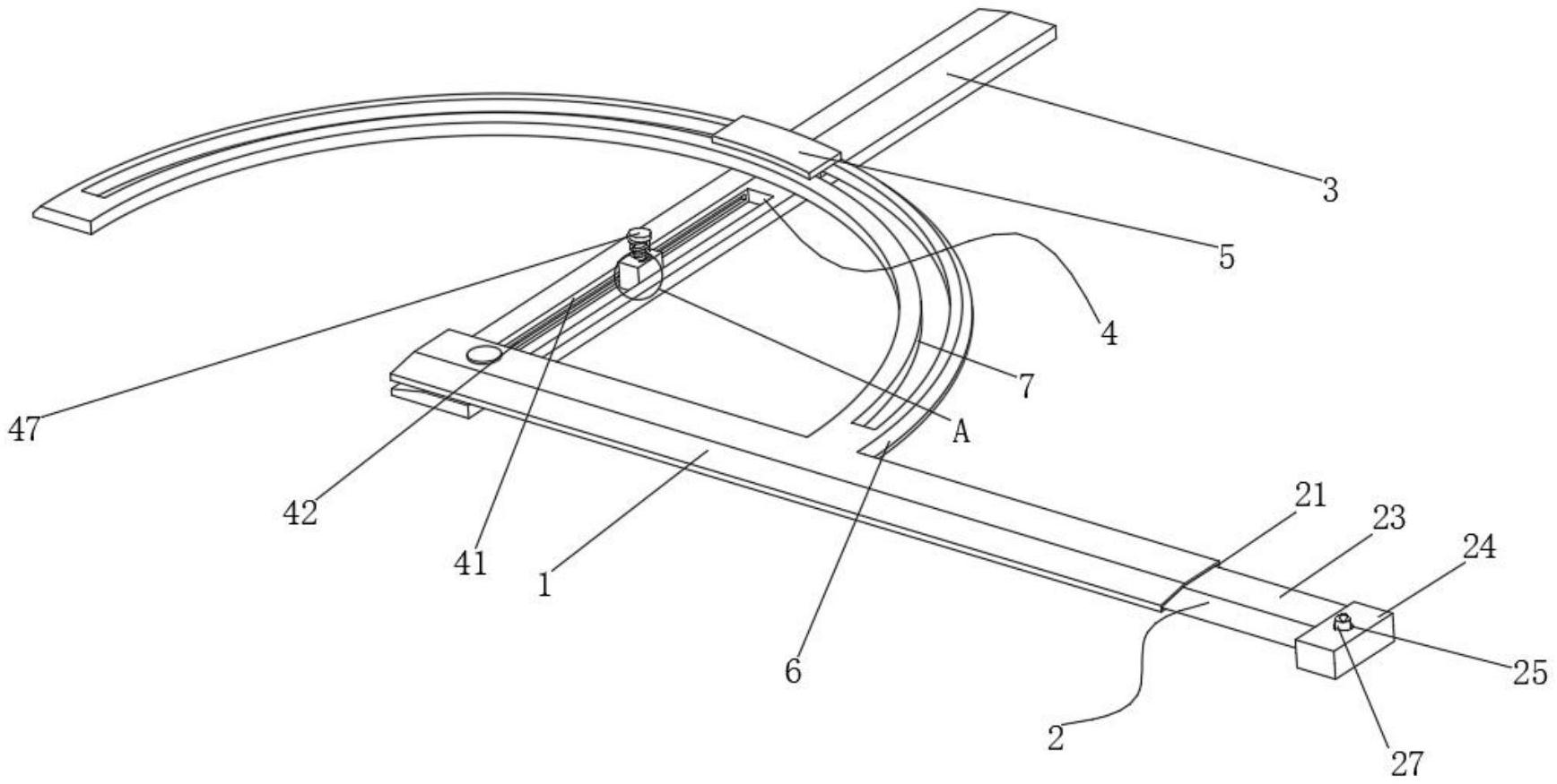
专利摘要:本实用新型属于除磁领域,尤其涉及一种混合草原料除磁装置,包括进料管和除磁仓,进料管位于除磁仓的上方,除磁仓的一侧设置有安装口;还包括电磁铁,电磁铁位于安装口中,电磁铁套设有保护套,保护套远离电磁铁的一侧固定连接有抽拉结构,抽拉结构包括外框和抽拉把手,抽拉把手与外框滑动连接;锁杆,外框和安装口通过锁杆进行锁合;第一收集盒,第一收集盒可拆卸的安装在外框上,在本实用新型中,通过设置的锁杆可以将外框与安装口锁合,使工作人员在对拉抽拉把手进行拉伸时可以更好发力,通过设置的拆接口,工作人员在后期对电磁铁进行拆卸时,使用工具即可将电磁铁从拆接口中翘出,拆卸过程得到简化。
今年以来蒙草生态新获得专利授权80个,较去年同期增加了48.15%。结合公司2024年年报财务数据,2024年公司在研发方面投入了1.64亿元,同比增20.76%。
通过天眼查大数据分析,蒙草生态环境(集团)股份有限公司共对外投资了88家企业,参与招投标项目1311次;财产线索方面有商标信息794条,专利信息612条,著作权信息146条;此外企业还拥有行政许可46个。
数据来源:天眼查APP
以上内容为证券之星据公开信息整理,由AI算法生成(网信算备310104345710301240019号),不构成投资建议。
目录 返回
首页
