金种子酒获得实用新型专利授权:“一种酿酒用底锅水回收装置”

图片来源于网络,如有侵权,请联系删除
证券之星消息,根据天眼查APP数据显示金种子酒(600199)新获得一项实用新型专利授权,专利名为“一种酿酒用底锅水回收装置”,专利申请号为CN202422796778.X,授权日为2025年10月17日。
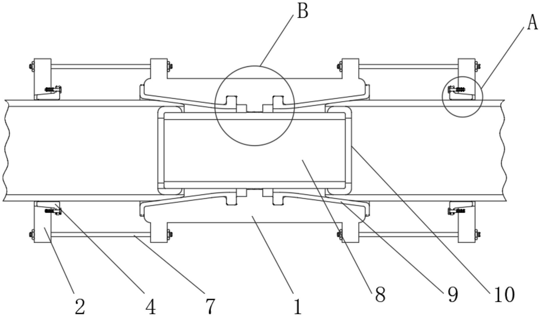
专利摘要:本实用新型提供一种酿酒用底锅水回收装置,包括:酿酒组件,酿酒组件包括甑锅,排水组件设置于甑锅的外表面,连接组件设置于排水箱的一端,管路组件设置于排水箱的内部,闸门组件设置于排水箱的内部,转盘固定连接在锥形齿轮组的一端,排放组件设置于接水槽的一端,输送管道固定连接在接水槽的一端,暂存组件设置于输送管道的另一端。本实用新型提供的一种酿酒用底锅水回收装置通过连接组件将排水组件与甑锅进行连接,甑锅内部的底锅水可通过排水组件和管路组件流入至暂存罐的内部进行储存,暂存罐中的温度可达80℃,高温条件下避免杂菌感染,减少直接排放造成水资源浪费,同时底锅水中的营养成分减少菌液培养过程中营养成分的添加量。
今年以来金种子酒新获得专利授权27个,较去年同期增加了58.82%。结合公司2025年中报财务数据,今年上半年公司在研发方面投入了1025.15万元,同比减6.02%。
通过天眼查大数据分析,安徽金种子酒业股份有限公司共对外投资了17家企业,参与招投标项目2991次;财产线索方面有商标信息757条,专利信息387条,著作权信息56条;此外企业还拥有行政许可37个。
数据来源:天眼查APP
以上内容为证券之星据公开信息整理,由AI算法生成(网信算备310104345710301240019号),不构成投资建议。
目录 返回
首页
