格力电器获得发明专利授权:“一种转子铝条检测装置和转子铝条的检测方法”

图片来源于网络,如有侵权,请联系删除
证券之星消息,根据天眼查APP数据显示格力电器(000651)新获得一项发明专利授权,专利名为“一种转子铝条检测装置和转子铝条的检测方法”,专利申请号为CN202111501894.9,授权日为2025年10月21日。
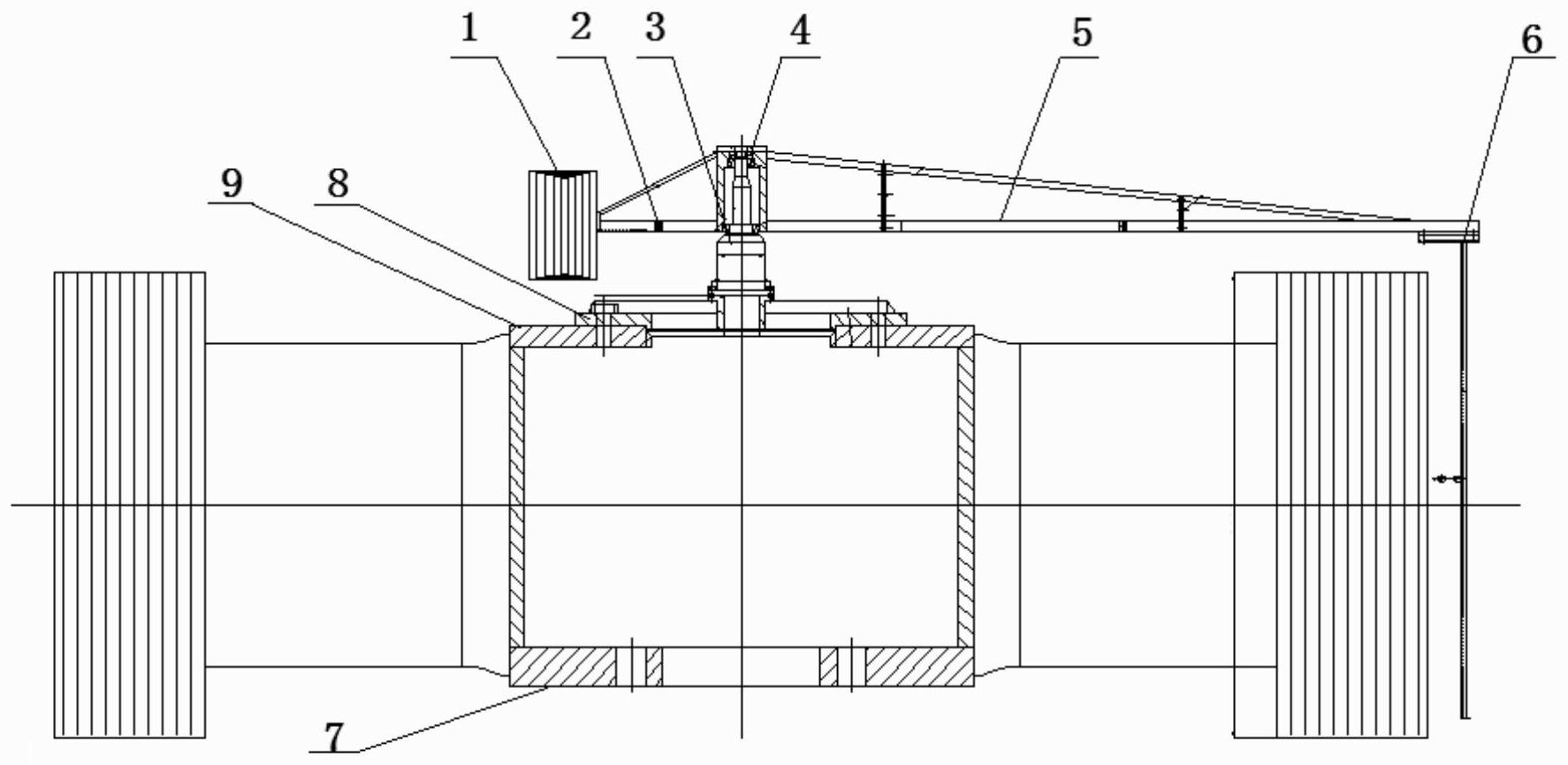
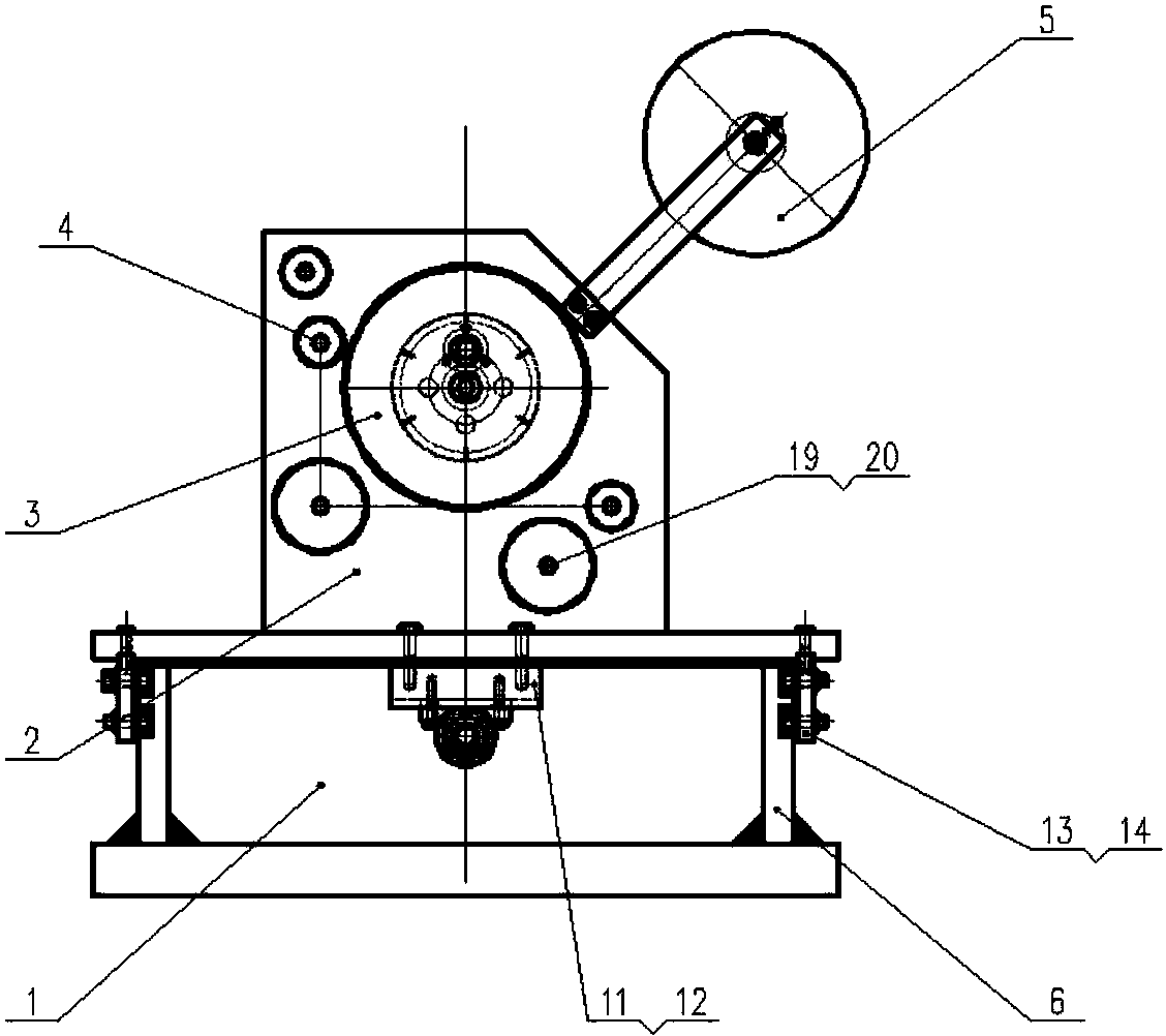
专利摘要:本发明涉及电机技术领域,具体涉及一种转子铝条检测装置和转子铝条的检测方法,该转子铝条检测装置包括驱动转子转动的转轴,转轴的一侧设有定子测头组件,定子测头组件包括若干铁芯片,铁芯片开设有缺槽,各个铁芯片对齐层叠,其对齐后的缺槽形成槽口道,槽口道能与待测转子的标准斜槽角度对齐,槽口道内设有磁体,磁体朝向槽口道,层叠的铁芯片上绕有感应电动势能的接收线,接收线指向磁体,该转子铝条检测装置能准确、快速地判断转子铝条的斜槽角度和转子铝条的饱满度是否符合生产标准。

图片来源于网络,如有侵权,请联系删除
今年以来格力电器新获得专利授权6420个,较去年同期增加了20.7%。结合公司2025年中报财务数据,今年上半年公司在研发方面投入了39.18亿元,同比增10.92%。
通过天眼查大数据分析,珠海格力电器股份有限公司共对外投资了101家企业,参与招投标项目31328次;财产线索方面有商标信息8173条,专利信息116868条,著作权信息297条;此外企业还拥有行政许可842个。
数据来源:天眼查APP
以上内容为证券之星据公开信息整理,由AI算法生成(网信算备310104345710301240019号),不构成投资建议。
目录 返回
首页
