宜安科技获得实用新型专利授权:“一种笔记本C面压铸模具”

图片来源于网络,如有侵权,请联系删除
证券之星消息,根据天眼查APP数据显示宜安科技(300328)新获得一项实用新型专利授权,专利名为“一种笔记本C面压铸模具”,专利申请号为CN202422028995.4,授权日为2025年10月24日。
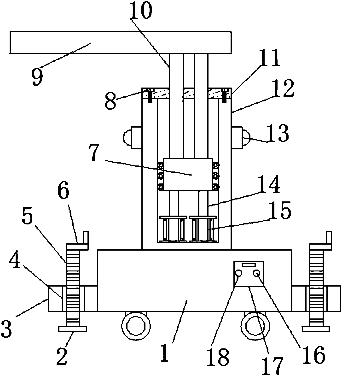
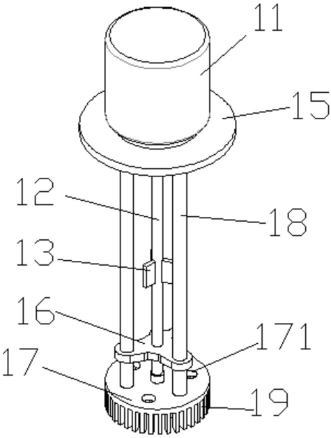
专利摘要:本实用新型属于笔记本生产技术领域,尤其涉及一种笔记本C面压铸模具,包括模具本体,所述模具本体内设置有压铸流道,所述压铸流道包括料饼腔、主流道、横流道、平浇口和压铸腔,所述料饼腔与所述主流道连通,所述主流道的另一端与横流道中部连通,所述平浇口数量为若干,并均匀分布于所述横流道远离所述主流道的一侧,各所述平浇口另一端均与所述压铸腔的首端连通,所述压铸腔包括主腔体以及设置于所述主腔体内的键盘部和触摸板部,所述触摸板部覆盖有增高部,所述增高部内设有条形凸台,改善了金属流在流动至压铸腔末端时由于热量散失导致的流动性减弱,使金属流能更好的填充到模具末端,改善砂孔和冷料问题。

图片来源于网络,如有侵权,请联系删除
今年以来宜安科技新获得专利授权12个,较去年同期增加了140%。结合公司2025年中报财务数据,今年上半年公司在研发方面投入了3896.07万元,同比减6.74%。
通过天眼查大数据分析,东莞宜安科技股份有限公司共对外投资了18家企业,参与招投标项目70次;财产线索方面有商标信息34条,专利信息394条,著作权信息2条;此外企业还拥有行政许可111个。
数据来源:天眼查APP
以上内容为证券之星据公开信息整理,由AI算法生成(网信算备310104345710301240019号),不构成投资建议。
目录 返回
首页
