海泰新能获得实用新型专利授权:“一种插针插套自动试验机”

图片来源于网络,如有侵权,请联系删除
证券之星消息,根据天眼查APP数据显示海泰新能(920985)新获得一项实用新型专利授权,专利名为“一种插针插套自动试验机”,专利申请号为CN202422726254.3,授权日为2025年10月24日。
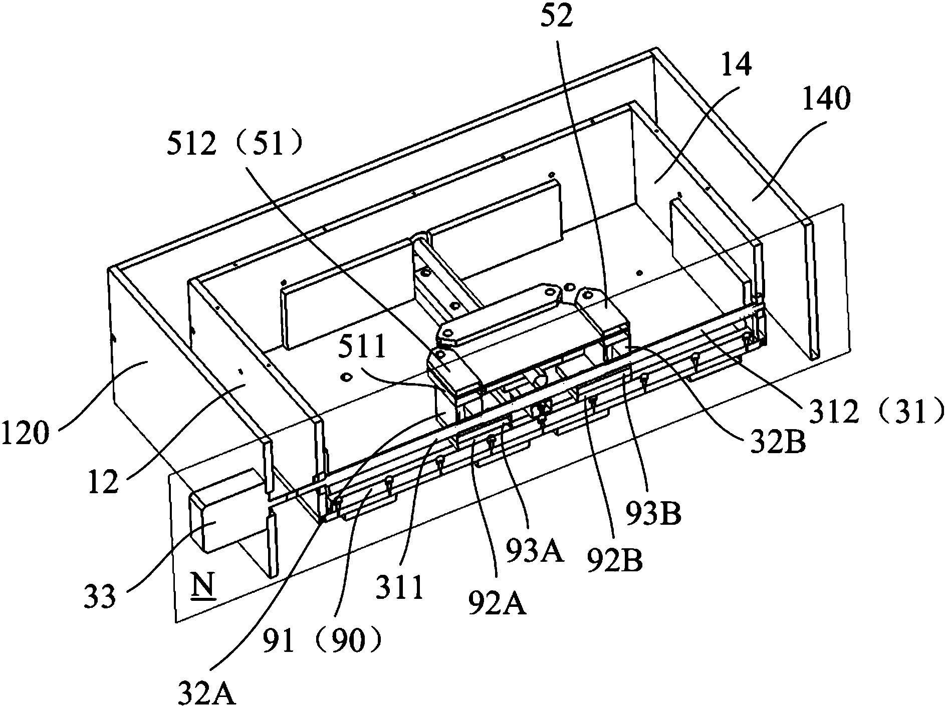
专利摘要:本实用新型涉及试验机技术领域,提出了一种插针插套自动试验机,插套底座的上表面具有第一下沟槽;插套上座可拆卸设置在插套底座上,插套上座的下表面具有第一上沟槽,第一上沟槽与第一下沟槽拼接形成为插套夹紧槽;插拔驱动机构位于第一下沟槽一端的外侧;插针底座与插拔驱动机构的活动端连接,插针底座的上表面具有第二下沟槽,插拔驱动机构伸缩后,插针底座靠近或远离插套底座;插针上座可拆卸设置在插针底座上,插针上座的下表面具有第二上沟槽,第二上沟槽与第二下沟槽拼接形成为插针夹紧槽。通过上述技术方案,解决了人工手动进行插针插套的插拔试验,无法完全控制频率和力度一致,且试验时间较长,费时费力,工作效率较低的问题。

图片来源于网络,如有侵权,请联系删除
今年以来海泰新能新获得专利授权1个。结合公司2025年中报财务数据,今年上半年公司在研发方面投入了1480.19万元,同比增11.4%。
通过天眼查大数据分析,唐山海泰新能科技股份有限公司共对外投资了40家企业,参与招投标项目836次;财产线索方面有商标信息45条,专利信息255条,著作权信息11条;此外企业还拥有行政许可12个。
数据来源:天眼查APP
以上内容为证券之星据公开信息整理,由AI算法生成(网信算备310104345710301240019号),不构成投资建议。
目录 返回
首页
