长安汽车获得发明专利授权:“汽车球铰的设计方法、汽车球铰和汽车球铰总成”

图片来源于网络,如有侵权,请联系删除
证券之星消息,根据天眼查APP数据显示长安汽车(000625)新获得一项发明专利授权,专利名为“汽车球铰的设计方法、汽车球铰和汽车球铰总成”,专利申请号为CN202410778044.0,授权日为2025年11月4日。
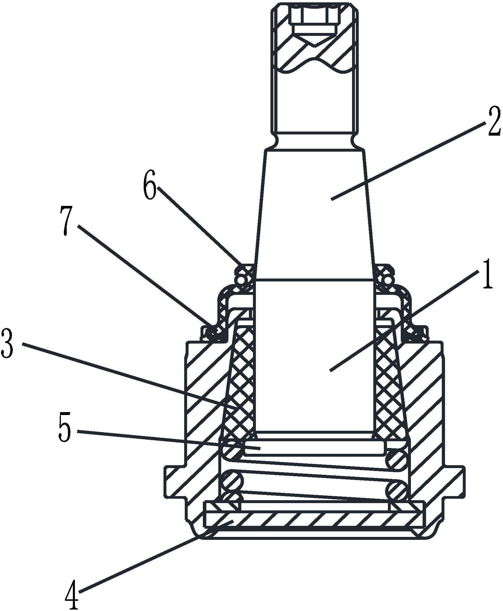
专利摘要:本发明涉及球铰结构设计技术领域,公开了一种汽车球铰的设计方法,包括:通过软件模拟仿真汽车球铰的最大载荷;根据公式求得最小的球头直径D′球头;通过软件搭建汽车悬架系统的装配数模,得到汽车球铰的最小摆动角度β′;根据公式L′弦长=D′球头・sinβ′,即可求得最小弦长L′弦长;根据公式和步骤2中的强度计算公式得出σj′,将最小的球头直径D′球头开展优化设计,得到最优的球头直径D球头。采用本发明的设计方法,能够在汽车球铰的设计初期就考虑到汽车球铰的最大载荷和强度,即可精准设计球头直径,有效避免售后出现断裂、异常磨损等问题。

图片来源于网络,如有侵权,请联系删除
今年以来长安汽车新获得专利授权1237个,较去年同期减少了19.47%。结合公司2025年中报财务数据,今年上半年公司在研发方面投入了32.84亿元,同比增12.76%。
数据来源:天眼查APP
以上内容为证券之星据公开信息整理,由AI算法生成(网信算备310104345710301240019号),不构成投资建议。
目录 返回
首页
