昊志机电获得实用新型专利授权:“一种液压旋转刹车机构、转台和机床”

图片来源于网络,如有侵权,请联系删除
证券之星消息,根据天眼查APP数据显示昊志机电(300503)新获得一项实用新型专利授权,专利名为“一种液压旋转刹车机构、转台和机床”,专利申请号为CN202423074107.9,授权日为2025年11月7日。
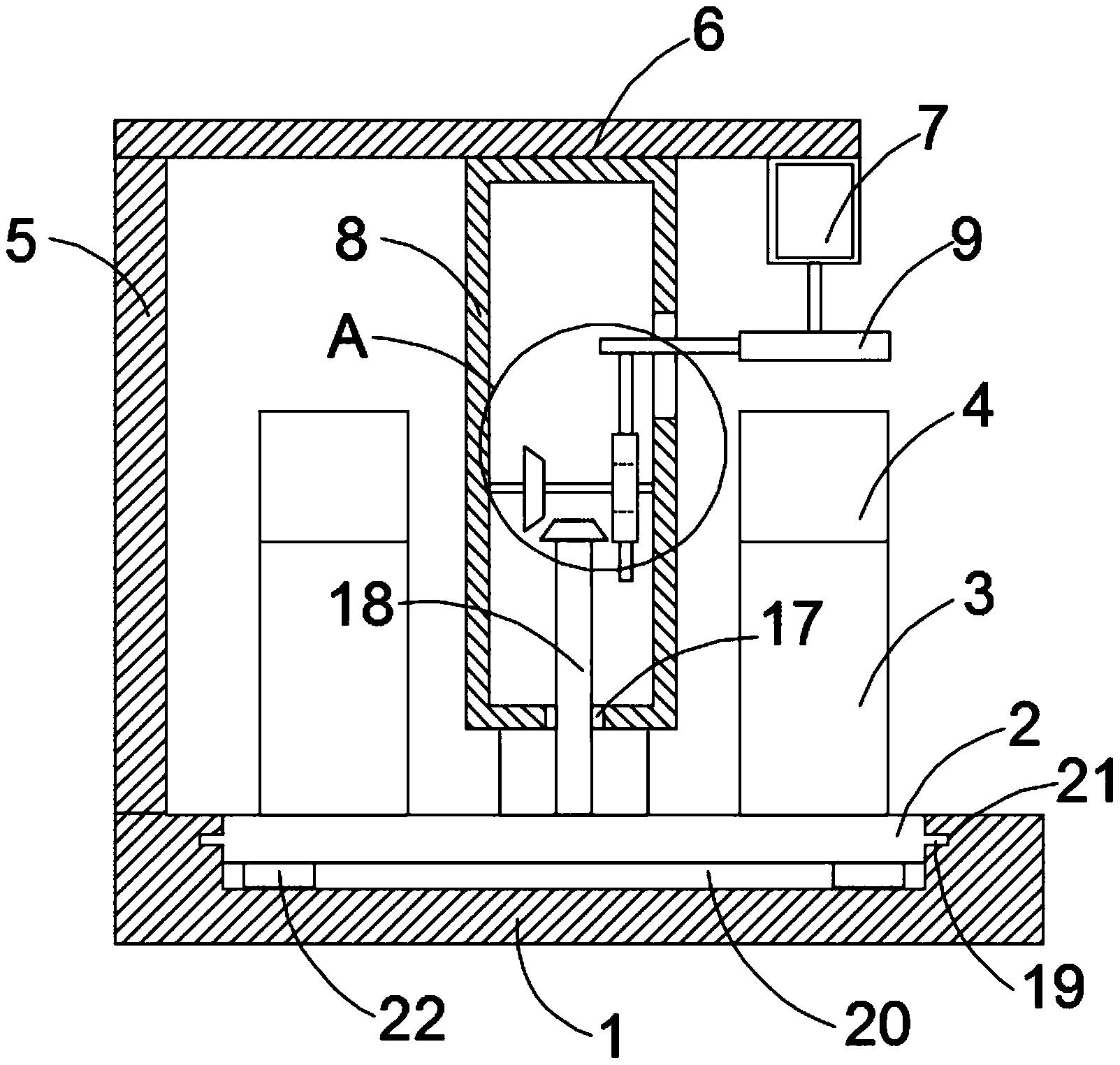
专利摘要:本实用新型公开了一种液压旋转刹车机构、转台和机床,包括缸体和旋转环,所述缸体设有开口缩小的U形腔体,所述旋转环的边缘由所述U形腔体的开口伸入所述U形腔体,所述缸体从两侧夹紧所述旋转环的边缘,所述缸体在所述U形腔体中设有密封件,所述密封件将所述U形腔体在远离所述旋转环的一侧限定出密闭的油腔,所述缸体设有与所述油腔连通的油孔。本实用新型的技术方案,结构简单,容易维修,使用场景广泛,刹车效果稳定,而且,正常状态下为夹紧状态,解决了齿轮机械刹车机构主要依靠电机控制,在常态断电下无法自动锁紧,且夹紧不稳定加工状态下容易导致工件产生滑移的痛点。

图片来源于网络,如有侵权,请联系删除
今年以来昊志机电新获得专利授权21个,较去年同期减少了16%。结合公司2025年中报财务数据,今年上半年公司在研发方面投入了5286.93万元,同比增13.31%。
通过天眼查大数据分析,广州市昊志机电股份有限公司共对外投资了9家企业,参与招投标项目105次;财产线索方面有商标信息196条,专利信息889条,著作权信息16条;此外企业还拥有行政许可119个。
数据来源:天眼查APP
以上内容为证券之星据公开信息整理,由AI算法生成(网信算备310104345710301240019号),不构成投资建议。
目录 返回
首页
