格力电器获得实用新型专利授权:“张紧装置及涂覆装置”

图片来源于网络,如有侵权,请联系删除
证券之星消息,根据天眼查APP数据显示格力电器(000651)新获得一项实用新型专利授权,专利名为“张紧装置及涂覆装置”,专利申请号为CN202422765616.X,授权日为2025年11月7日。
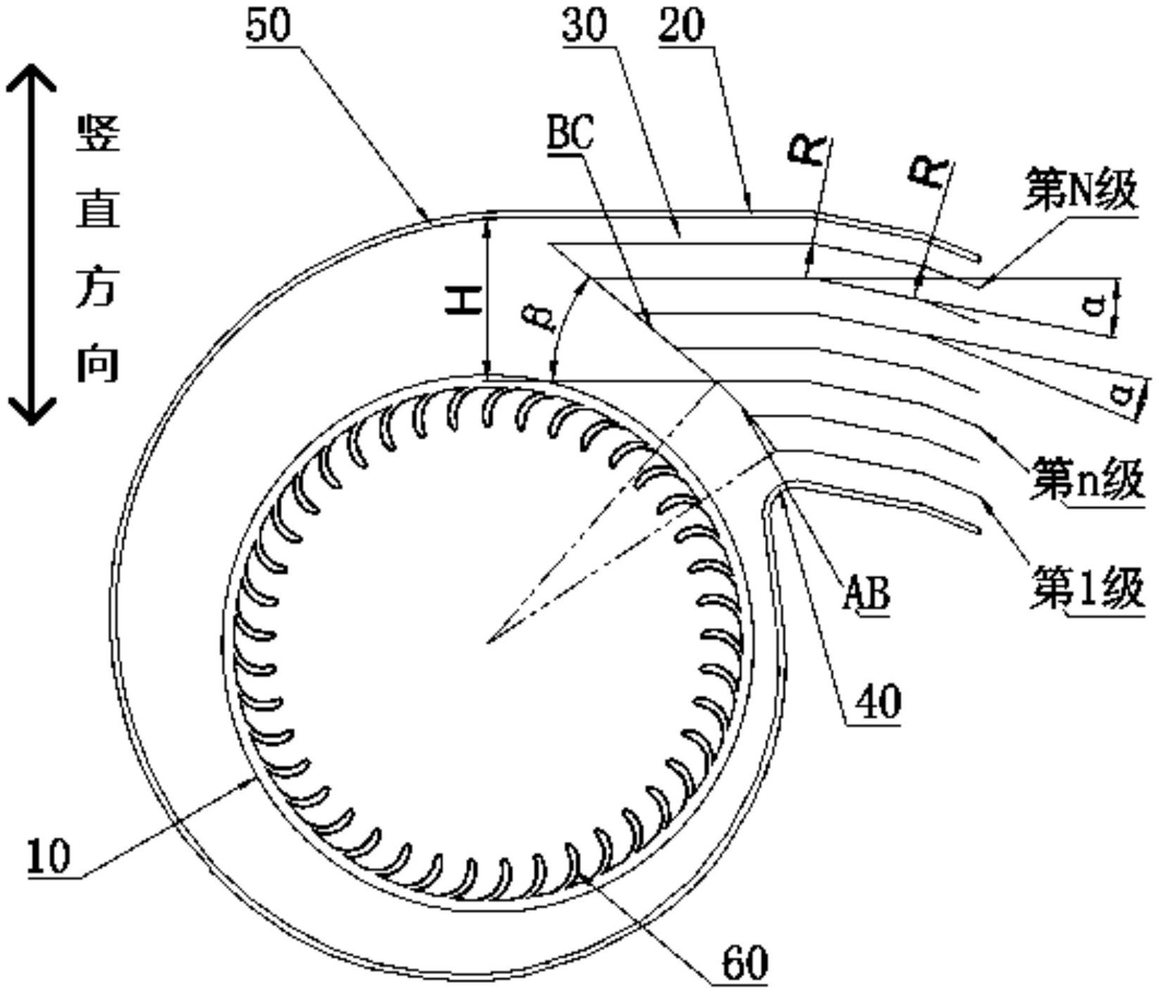
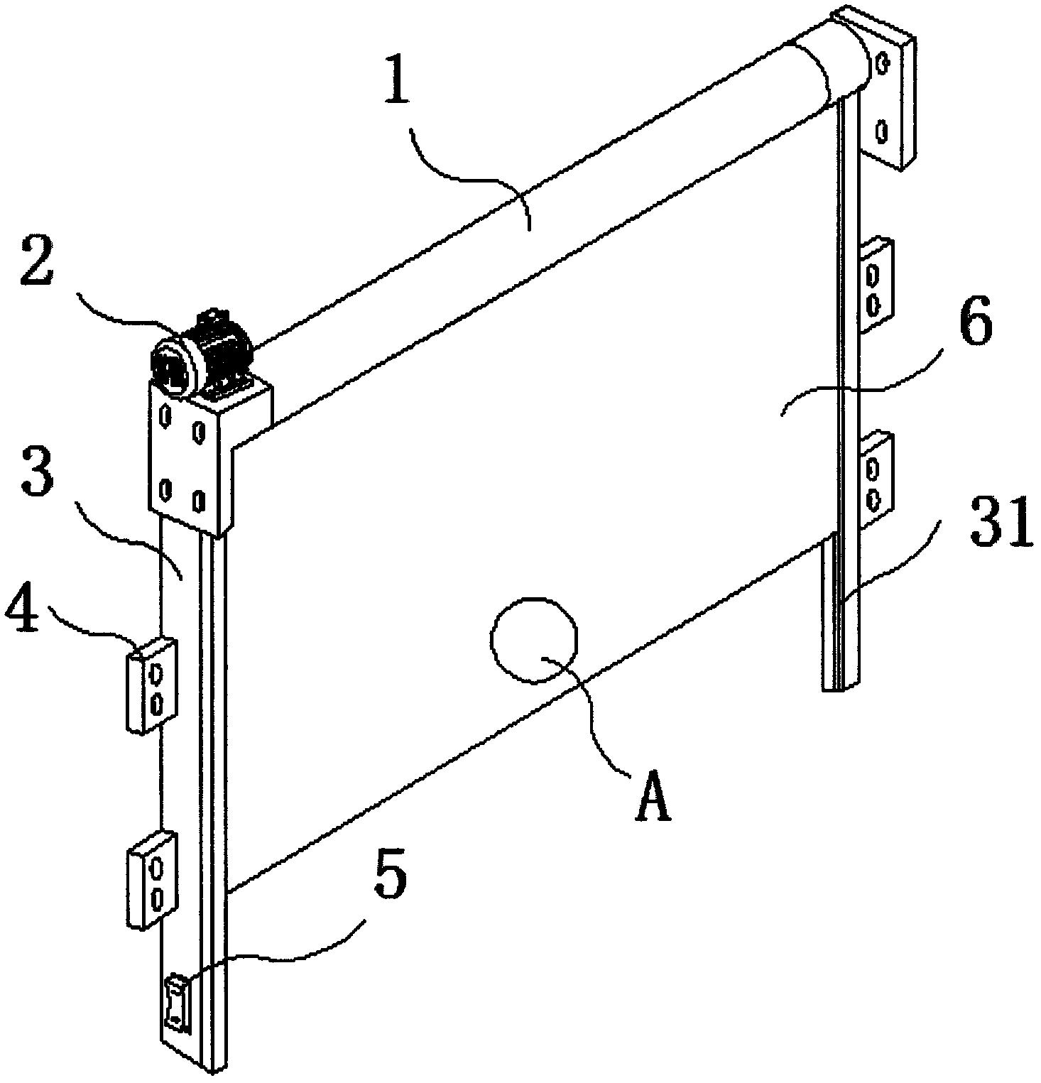
专利摘要:本实用新型提供了一种张紧装置及涂覆装置。张紧装置包括:框架组件,框架组件包括固定部分和活动部分,活动部分设置在固定部分的一侧并相对于固定部分可调节地设置,且活动部分与固定部分之间形成张紧区域,调节活动部分能够调整张紧区域的大小,固定部分远离活动部分的一侧与待安装件的一侧连接,活动部分用于与待安装件的另一侧连接;压接件,压接件绕框架组件的周向设置,压接件与框架组件之间形成用于夹持待安装件的空间。本实用新型解决了现有技术中涂覆散热膏的钢网在使用时张紧程度无法被自由调节的问题。

图片来源于网络,如有侵权,请联系删除
今年以来格力电器新获得专利授权7115个,较去年同期增加了28.13%。结合公司2025年中报财务数据,今年上半年公司在研发方面投入了39.18亿元,同比增10.92%。
通过天眼查大数据分析,珠海格力电器股份有限公司共对外投资了100家企业,参与招投标项目32222次;财产线索方面有商标信息8176条,专利信息118740条,著作权信息297条;此外企业还拥有行政许可842个。
数据来源:天眼查APP
以上内容为证券之星据公开信息整理,由AI算法生成(网信算备310104345710301240019号),不构成投资建议。
目录 返回
首页
