海目星获得发明专利授权:“气浮辊及涂布装置”

图片来源于网络,如有侵权,请联系删除
证券之星消息,根据天眼查APP数据显示海目星(688559)新获得一项发明专利授权,专利名为“气浮辊及涂布装置”,专利申请号为CN202211516203.7,授权日为2025年11月7日。
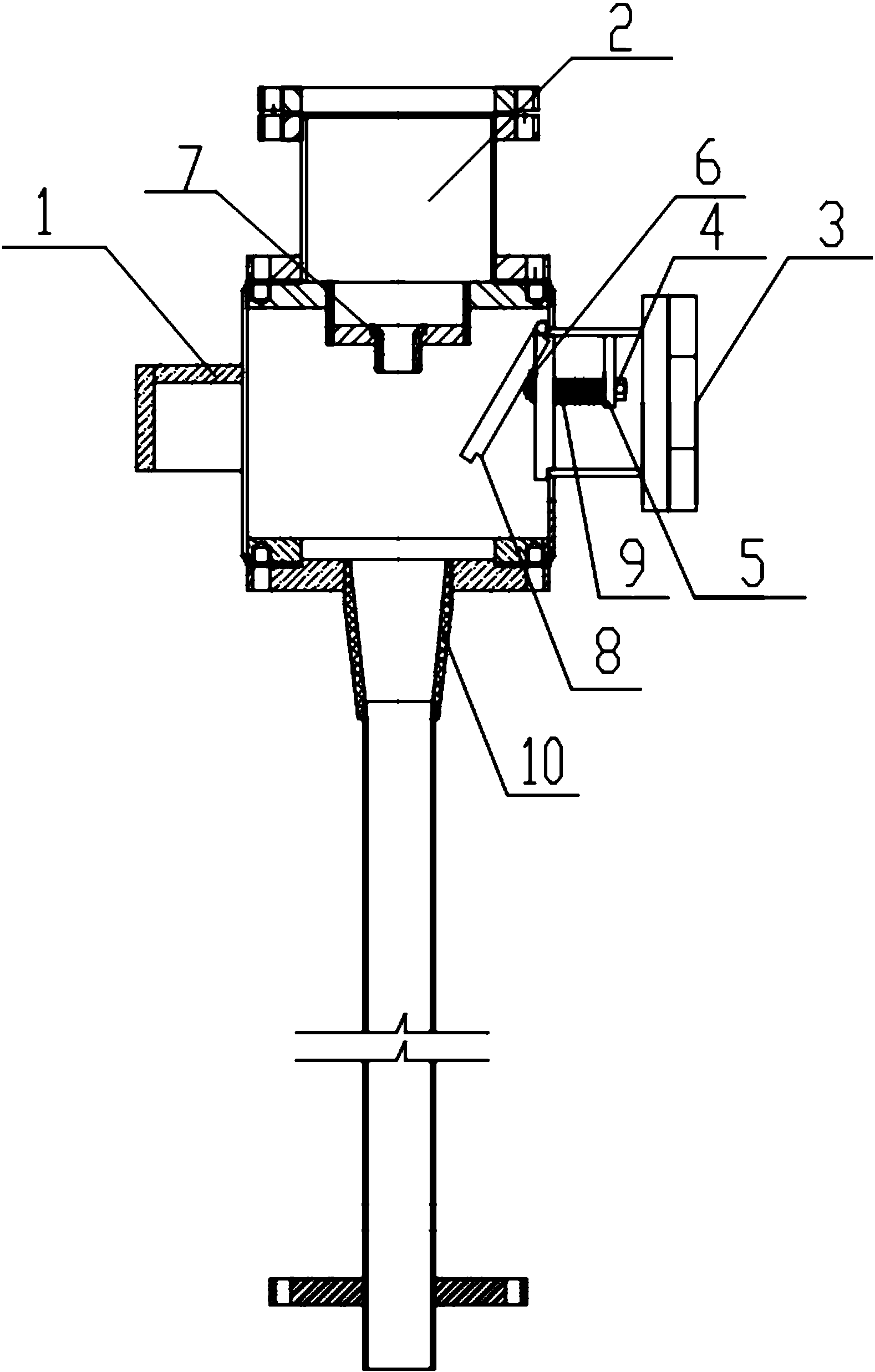
专利摘要:本申请公开了一种气浮辊及涂布装置,包括辊体和内胆。辊体设有在辊体的径向上相对的出气部和进气部,且辊体设有沿辊体的轴向延伸的内腔;内胆容置于内腔,且内胆在辊体的轴向上的投影为椭圆;其中,气体由进气部进入内腔,并沿内胆的外表面流向出气部,经出气部流出支撑极片。气浮辊通过进气部进气,并使气体沿所述内胆的外表面流向出气部,内胆的椭圆设计让出气部的气流均匀流出从而形成均匀的气膜,改善了出气部的气流压力分布,降低了在对极片进行悬浮支撑时出现无规律的抖动的概率,提供了涂布的稳定性,保证了涂布质量,从而保证了锂离子电池的质量和寿命。

图片来源于网络,如有侵权,请联系删除
今年以来海目星新获得专利授权250个,较去年同期减少了13.19%。结合公司2025年中报财务数据,今年上半年公司在研发方面投入了2.48亿元,同比减0.47%。
通过天眼查大数据分析,海目星激光科技集团股份有限公司共对外投资了33家企业,参与招投标项目191次;财产线索方面有商标信息51条,专利信息1697条,著作权信息215条;此外企业还拥有行政许可36个。
数据来源:天眼查APP
以上内容为证券之星据公开信息整理,由AI算法生成(网信算备310104345710301240019号),不构成投资建议。
目录 返回
首页
