联赢激光获得实用新型专利授权:“一种自动化擦拭装置”

图片来源于网络,如有侵权,请联系删除
证券之星消息,根据天眼查APP数据显示联赢激光(688518)新获得一项实用新型专利授权,专利名为“一种自动化擦拭装置”,专利申请号为CN202422123553.8,授权日为2025年11月4日。
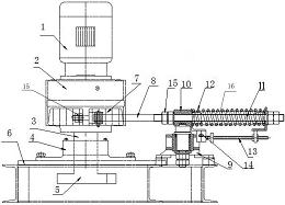
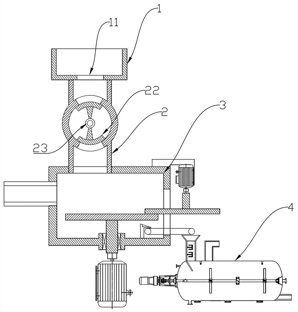
专利摘要:本实用新型提供了一种自动化擦拭装置,自动化擦拭装置包括:送料组件,包括安装座和卷料机构,卷料机构设置于安装座上,以输送擦带;卷料成型组件,包括牵引机构和成型机构,牵引机构用于牵引擦带至成型机构上方;卷料裁切组件,用以切割擦带;擦拭组件,包括横向机构和连接有擦拭升降单元的擦拭机构,擦拭机构用于夹持擦带以擦拭电池注液口,横向机构用以带动擦拭机构沿X轴方向移动。本实用新型裁切擦拭稳定,可全程自动化精准裁切擦带和高效擦拭电池,裁切效果好,工作效率高。

图片来源于网络,如有侵权,请联系删除
今年以来联赢激光新获得专利授权76个,较去年同期增加了49.02%。结合公司2025年中报财务数据,今年上半年公司在研发方面投入了1.19亿元,同比增5.27%。
通过天眼查大数据分析,深圳市联赢激光股份有限公司共对外投资了9家企业,参与招投标项目180次;财产线索方面有商标信息48条,专利信息588条,著作权信息242条;此外企业还拥有行政许可43个。
数据来源:天眼查APP
以上内容为证券之星据公开信息整理,由AI算法生成(网信算备310104345710301240019号),不构成投资建议。
目录 返回
首页
