万辰集团获得实用新型专利授权:“一种金针菇培育用可调光照装置”

图片来源于网络,如有侵权,请联系删除
证券之星消息,根据天眼查APP数据显示万辰集团(300972)新获得一项实用新型专利授权,专利名为“一种金针菇培育用可调光照装置”,专利申请号为CN202422834109.7,授权日为2025年11月14日。
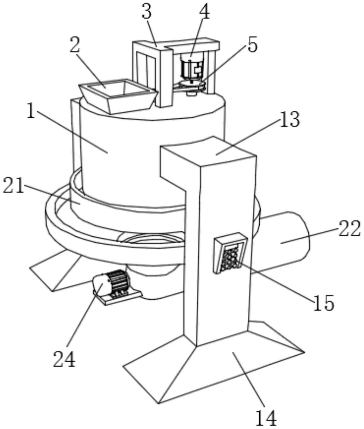
专利摘要:本实用新型涉及光照装置技术领域,公开了一种金针菇培育用可调光照装置,包括连接板,所述连接板内壁滑动连接有滑动框,所述滑动框内壁一侧设置有连接杆,所述连接杆外壁通过卡钳组件连接有伸缩杆,以用于对连接杆限位,所述伸缩杆一端通过移动组件与连接板相连,以用于对滑动框的位置调整,所述滑动框内壁滑动连接有旋转板,所述旋转板一端设置有旋转组件,以用于调整旋转板的角度。本实用新型中,通过向上拉动并旋转连接杆,即可调整光照板的位置,同时向下拉动旋转板并旋转光照板,对光照板的角度进行调整,从而可以改善金针菇的生长环境,提高光照均匀性、光合效率和整体生长质量,从而促进金针菇的健康生长和高产出。

图片来源于网络,如有侵权,请联系删除
今年以来万辰集团新获得专利授权2个,较去年同期减少了66.67%。结合公司2025年中报财务数据,今年上半年公司在研发方面投入了231.84万元,同比增24.76%。
通过天眼查大数据分析,福建万辰生物科技集团股份有限公司共对外投资了10家企业,参与招投标项目18次;财产线索方面有商标信息21条,专利信息131条,著作权信息2条;此外企业还拥有行政许可20个。
数据来源:天眼查APP
以上内容为证券之星据公开信息整理,由AI算法生成(网信算备310104345710301240019号),不构成投资建议。
目录 返回
首页
