宝钢股份获得实用新型专利授权:“一种从干熄焦循环气体中提取CO2的设备及干熄焦系统”

图片来源于网络,如有侵权,请联系删除
证券之星消息,根据天眼查APP数据显示宝钢股份(600019)新获得一项实用新型专利授权,专利名为“一种从干熄焦循环气体中提取CO2的设备及干熄焦系统”,专利申请号为CN202423227380.0,授权日为2026年1月23日。
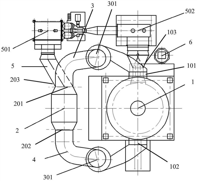
专利摘要:本实用新型提供了一种从干熄焦循环气体中提取CO2的设备,包括气气换热器、脱硫吸附塔、鼓风机、变压吸附塔,所述脱硫吸附塔、鼓风机、变压吸附塔、依次连接;所述气气换热器的热媒管道出口与脱硫吸附塔连接,冷媒管道进口与变压吸附塔的冷媒出口连接,所述热媒管道与冷媒管道在气气换热器中换热。本实用新型还提供了一种干熄焦系统。本实用新型的设备及工艺可显著降低干熄焦原有循环气体中的CO2和水蒸汽的含量,减少干熄炉内高温区的碳熔反应和水煤气反应,降低焦炭烧损率0.3%?0.7%。提高焦炭产量。

图片来源于网络,如有侵权,请联系删除
今年以来宝钢股份新获得专利授权36个,较去年同期增加了111.76%。结合公司2025年中报财务数据,2025上半年公司在研发方面投入了16.76亿元,同比增7.77%。
通过天眼查大数据分析,宝山钢铁股份有限公司共对外投资了30家企业,参与招投标项目13485次;财产线索方面有商标信息336条,专利信息12527条,著作权信息52条;此外企业还拥有行政许可9284个。
数据来源:天眼查APP
以上内容为证券之星据公开信息整理,由AI算法生成(网信算备310104345710301240019号),不构成投资建议。
目录 返回
首页
