海 利 得获得实用新型专利授权:“一种刮板冷凝器刮刀系统装置”

图片来源于网络,如有侵权,请联系删除
证券之星消息,根据天眼查APP数据显示海 利 得(002206)新获得一项实用新型专利授权,专利名为“一种刮板冷凝器刮刀系统装置”,专利申请号为CN202520071736.1,授权日为2026年1月30日。
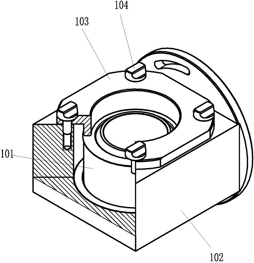
专利摘要:本实用新型公开了一种刮板冷凝器刮刀系统装置,涉及冷凝器刮刀技术领域,该刮板冷凝器刮刀系统装置,包括主轴,所述主轴上设置有若干呈一字型的刮刀,所述主轴末端设置有末刮刀,所述主轴上安装有若干支撑件,所述支撑件远离主轴的一端设置有安装组件,所述刮刀通过安装组件固定连接于支撑件上,本申请将原来单刀组十字两两垂直模式改为单刀组一字模式且相邻刀组垂直的结构,改斜刀为直刀模式,后第一刮刀、中第二刮刀和前第三刮刀在旋转面上互有填补且不留空隙,同一对刮刀组对向两把刮刀等长且为平行状态,在不影响刮板正常使用的情况下优化刮刀结构,减轻刮刀系统质量,改善使用效果,延长使用期限。
今年以来海 利 得新获得专利授权5个,与去年同期持平。结合公司2025年中报财务数据,2025上半年公司在研发方面投入了8835.15万元,同比增13.65%。
通过天眼查大数据分析,浙江海利得新材料股份有限公司共对外投资了12家企业,参与招投标项目98次;财产线索方面有商标信息179条,专利信息370条,著作权信息19条;此外企业还拥有行政许可27个。
数据来源:天眼查APP
以上内容为证券之星据公开信息整理,由AI算法生成(网信算备310104345710301240019号),不构成投资建议。
目录 返回
首页
