格力电器获得发明专利授权:“一种主轴润滑结构、电主轴”

图片来源于网络,如有侵权,请联系删除
证券之星消息,根据天眼查APP数据显示格力电器(000651)新获得一项发明专利授权,专利名为“一种主轴润滑结构、电主轴”,专利申请号为CN202411277835.1,授权日为2026年1月30日。
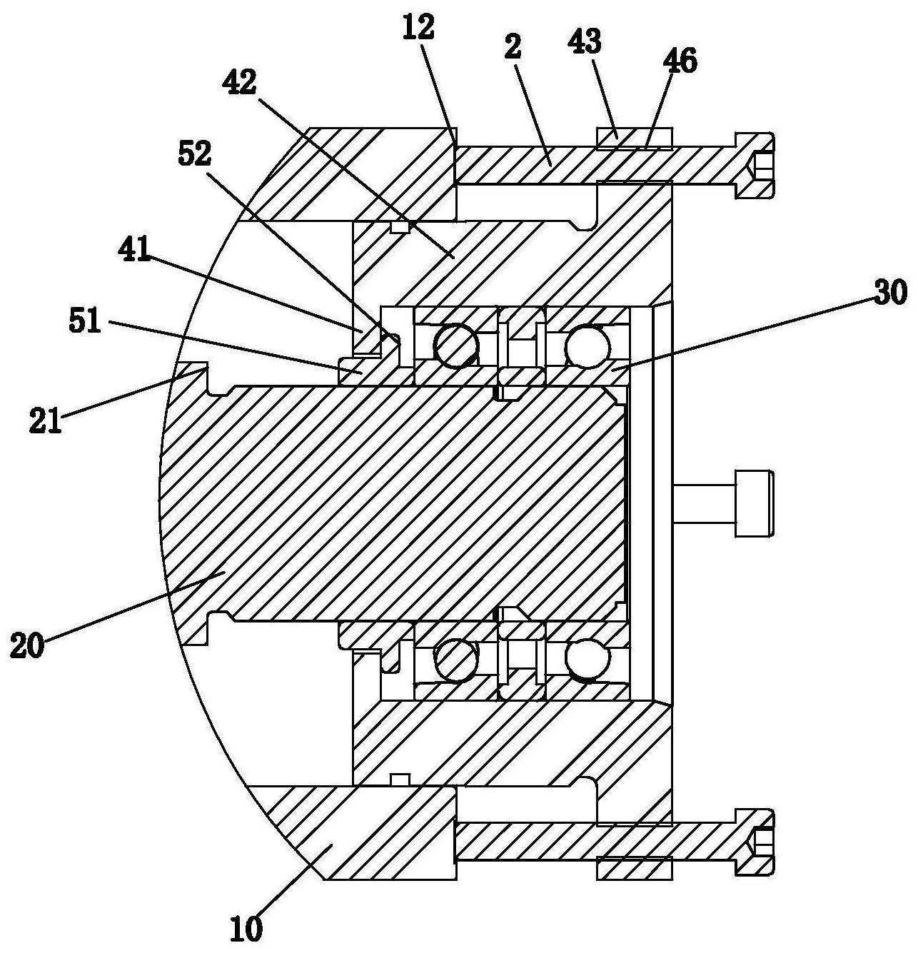
专利摘要:本发明提供一种主轴润滑结构、电主轴,其中主轴润滑结构包括:轴芯,所述轴芯上依次套设有前端盖、前端法兰、前轴承座、轴套、后轴承座、后端法兰和后端管路盘,所述前轴承座与所述轴芯之间设置有多个前轴承件,所述后轴承座与所述轴芯之间设置有后轴承件,所述前轴承座上设置有多个前润滑通道,所述润滑通道与所述前轴承件一一对应,所述后轴承座上设置有多个后润滑通道,所述后润滑通道与所述后轴承件相对。根据本发明,能够解决现有技术中主轴通过一个导入孔实现油气润滑通道的输送,导致冷却效率差的技术问题。
今年以来格力电器新获得专利授权958个,较去年同期增加了121.25%。结合公司2025年中报财务数据,2025上半年公司在研发方面投入了39.18亿元,同比增10.92%。
通过天眼查大数据分析,珠海格力电器股份有限公司共对外投资了98家企业,参与招投标项目34431次;财产线索方面有商标信息8212条,专利信息121114条,著作权信息299条;此外企业还拥有行政许可908个。
数据来源:天眼查APP
以上内容为证券之星据公开信息整理,由AI算法生成(网信算备310104345710301240019号),不构成投资建议。
目录 返回
首页
