东鹏控股获得实用新型专利授权:“一种易安装的干挂人造石板”

图片来源于网络,如有侵权,请联系删除
证券之星消息,根据天眼查APP数据显示东鹏控股(003012)新获得一项实用新型专利授权,专利名为“一种易安装的干挂人造石板”,专利申请号为CN202520333866.8,授权日为2026年2月10日。
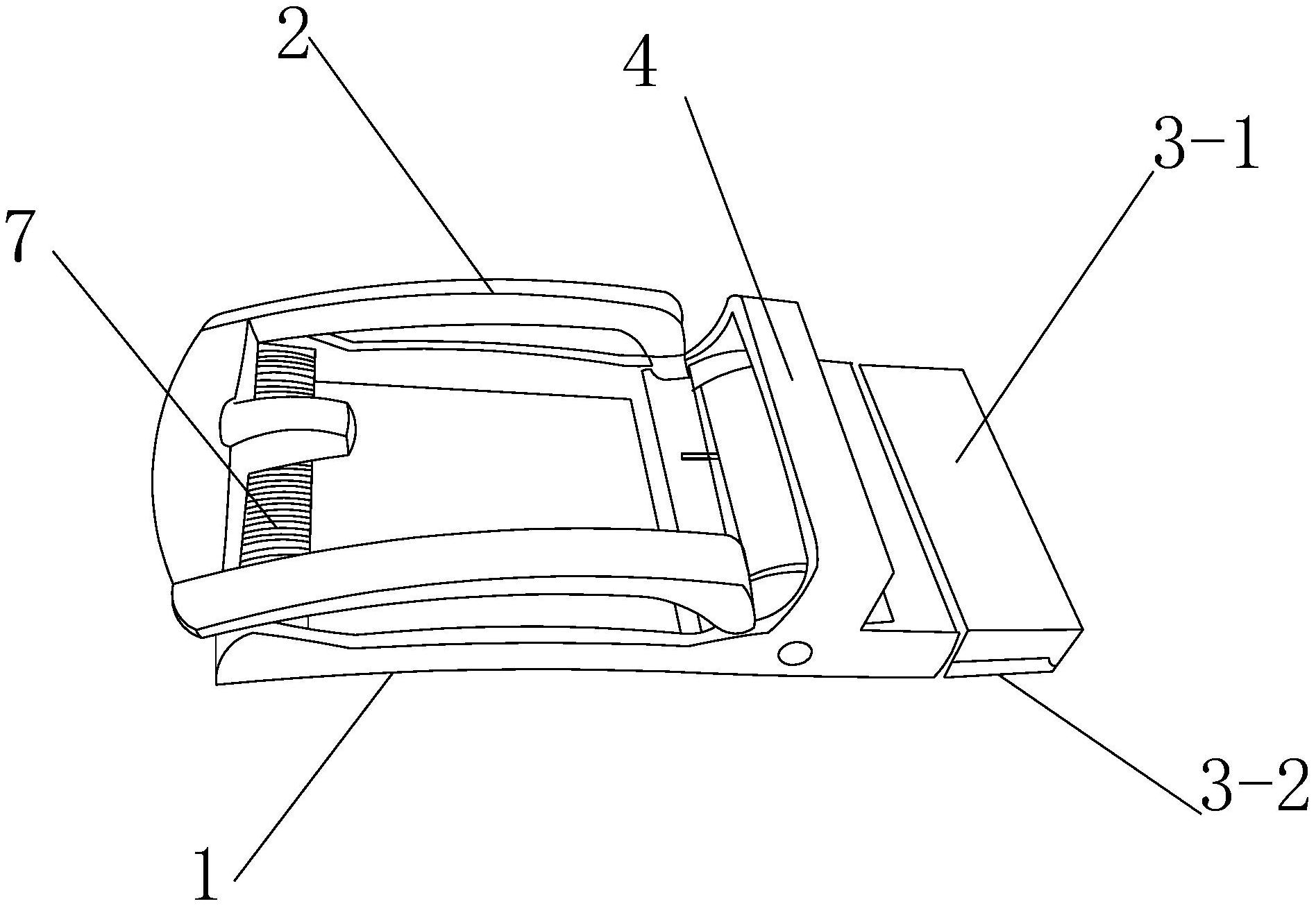
专利摘要:本实用新型公开了一种易安装的干挂人造石板,包括龙骨、石板和连接件,所述龙骨与所述石板之间设置有安装结构,多个所述石板均通过所述安装结构可拆卸式地安装于所述龙骨,多个所述石板阵列式排布,所述连接件可拆卸式地连接相邻的四个所述石板。本实用新型通过安装结构和连接件的共同作用,可以有效避免在石板表面钻孔,导致石板破裂的情况,加快石板的安装效率,降低安装难度,还可以提高石板与龙骨之间、多个石板之间的连接稳固性,即使在受到外力冲击或震动时,也能够保持整体的稳定性和完整性,解决了传统人造石板易破裂,安装难度高,步骤复杂的问题。

图片来源于网络,如有侵权,请联系删除
今年以来东鹏控股新获得专利授权12个,较去年同期减少了45.45%。结合公司2025年中报财务数据,2025上半年公司在研发方面投入了1.02亿元,同比增0.1%。
通过天眼查大数据分析,广东东鹏控股股份有限公司共对外投资了40家企业,参与招投标项目997次;财产线索方面有商标信息569条,专利信息2134条,著作权信息53条;此外企业还拥有行政许可6个。
数据来源:天眼查APP
以上内容为证券之星据公开信息整理,由AI算法生成(网信算备310104345710301240019号),不构成投资建议。
目录 返回
首页
