新宝股份获得实用新型专利授权:“一种混合水箱及布艺清洁机”

图片来源于网络,如有侵权,请联系删除
证券之星消息,根据天眼查APP数据显示新宝股份(002705)新获得一项实用新型专利授权,专利名为“一种混合水箱及布艺清洁机”,专利申请号为CN202520303918.7,授权日为2026年2月13日。
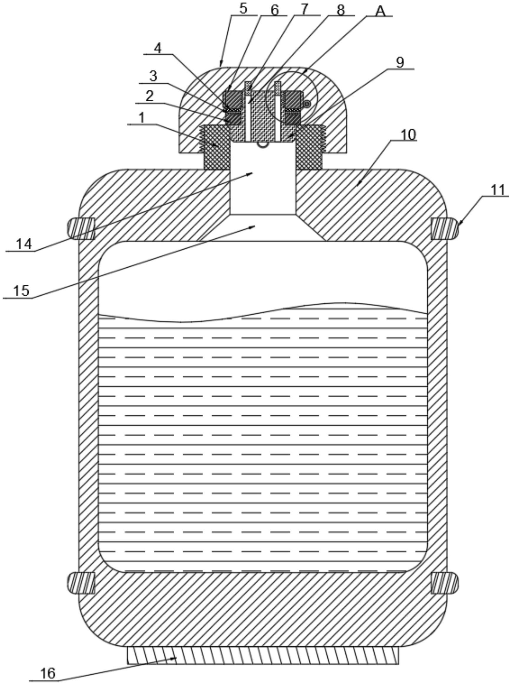
专利摘要:本实用新型涉及布艺清洁机技术领域,特指一种混合水箱及布艺清洁机,包括箱体,所述箱体内设有清水腔和清洁液腔,清水腔设有清水出口,清洁液腔设有清洁液出口和第一档位限流件;所述箱体上固定有出水阀座,出水阀座上设有混合液出口,出水阀座内活动设有出水阀组件,出水阀组件用于控制混合液出口与清水出口、清洁液出口和第一档位限流件之间处于不连通或连通;所述出水阀组件内设有第二档位限流件,清洁液出口的孔径大于第二档位限流件的孔径,第二档位限流件的孔径大于第一档位限流件的孔径;所述箱体上活动设有混合比档位切换组件,混合比档位切换组件与清洁液出口对应设置,用于开启或关闭清洁液出口。

图片来源于网络,如有侵权,请联系删除
今年以来新宝股份新获得专利授权40个,较去年同期减少了9.09%。结合公司2025年中报财务数据,2025上半年公司在研发方面投入了2.69亿元,同比减6.66%。
通过天眼查大数据分析,广东新宝电器股份有限公司共对外投资了30家企业,参与招投标项目122次;财产线索方面有商标信息1158条,专利信息7879条,著作权信息118条;此外企业还拥有行政许可314个。
数据来源:天眼查APP
以上内容为证券之星据公开信息整理,由AI算法生成(网信算备310104345710301240019号),不构成投资建议。
目录 返回
首页
