福立旺获得实用新型专利授权:“一种注塑模具用定位机构”

图片来源于网络,如有侵权,请联系删除
证券之星消息,根据天眼查APP数据显示福立旺(688678)新获得一项实用新型专利授权,专利名为“一种注塑模具用定位机构”,专利申请号为CN202520195418.6,授权日为2026年2月13日。
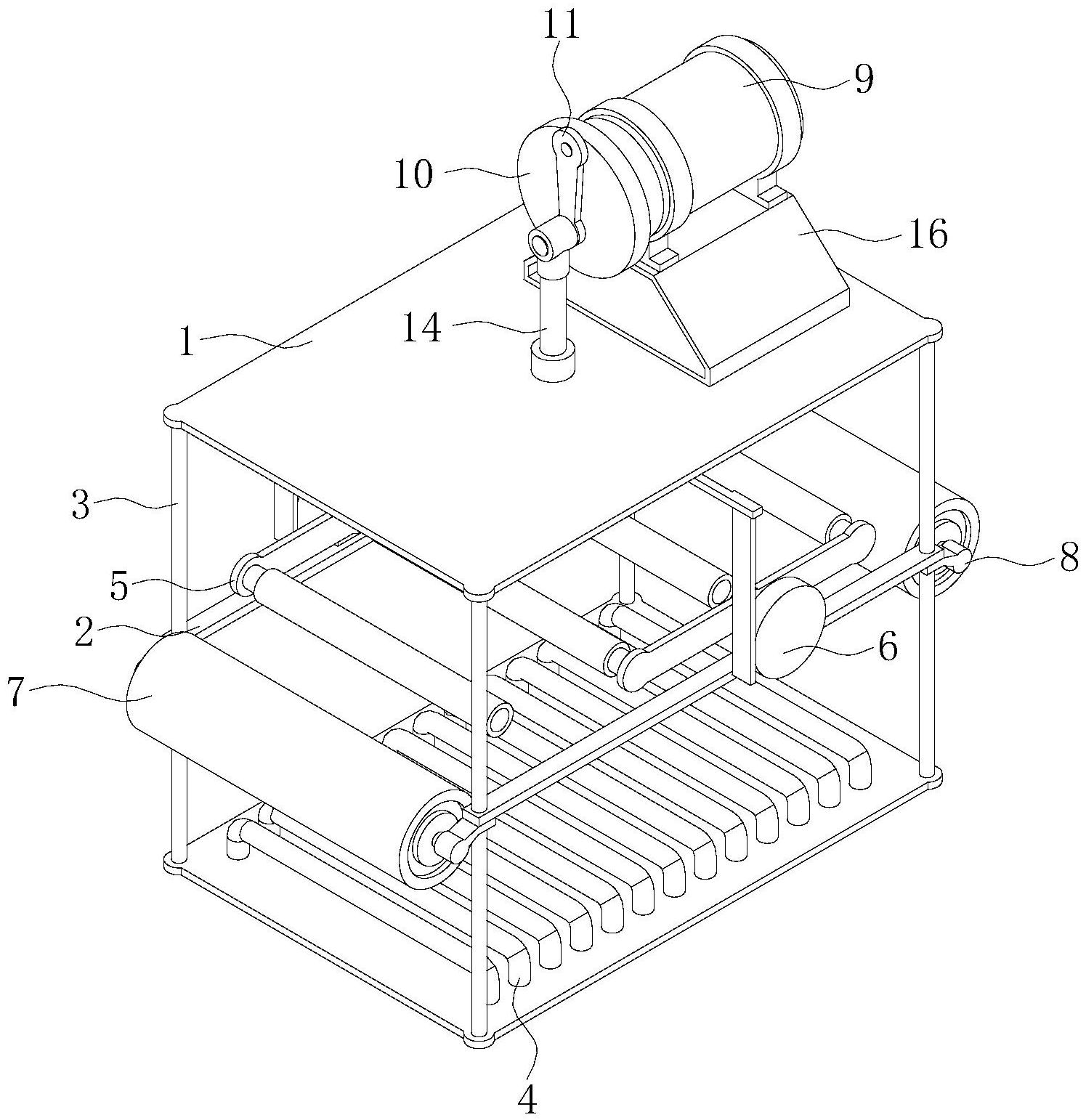
专利摘要:本实用新型涉及模具技术领域,具体为一种注塑模具用定位机构,包括模具芯板和设置在模具芯板上下两端的顶板和底板,顶板的底部固定连接有竖杆;模具芯板和底板之间设置有定位组件,定位组件用于对底板和模具芯板进行定位固定,定位组件和竖杆之间设置有限定组件,限定组件用于对竖杆进行限定。本申请的一种注塑模具用定位机构,通过将定位组件上的定位杆插接在多组模具芯板的内部,并通过固定件进行固定,能够对多组模具芯板进行定位;同时将竖杆插接在模具芯板和定位杆内,并将卡件插接在固定件的卡槽内,能够进一步对模具芯板、顶板和底板进行定位固定,进一步增加了模具的稳定性。

图片来源于网络,如有侵权,请联系删除
今年以来福立旺新获得专利授权56个,较去年同期增加了166.67%。结合公司2025年中报财务数据,2025上半年公司在研发方面投入了6850.91万元,同比增15.04%。
通过天眼查大数据分析,福立旺精密机电(中国)股份有限公司共对外投资了4家企业,参与招投标项目88次;财产线索方面有商标信息36条,专利信息909条,著作权信息1条;此外企业还拥有行政许可62个。
数据来源:天眼查APP
以上内容为证券之星据公开信息整理,由AI算法生成(网信算备310104345710301240019号),不构成投资建议。
目录 返回
首页
