华海药业获得实用新型专利授权:“一种空调系统的温控调节装置”

图片来源于网络,如有侵权,请联系删除
证券之星消息,根据天眼查APP数据显示华海药业(600521)新获得一项实用新型专利授权,专利名为“一种空调系统的温控调节装置”,专利申请号为CN202520232103.4,授权日为2026年2月17日。
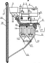
专利摘要:本实用新型提供了一种空调系统的温控调节装置,所述温控调节装置包含以下组段:表冷器2、U型框架3、第一温度变送器51和第二温度变送器52;所述U型框架3内固定有循环热管系统1,循环热管系统1包含若干根循环热管,每根循环热管上任选地设有一个电磁阀4,循环热管系统1上至少设有一个电磁阀4;表冷器2置于U型框架3中;第一温度变送器51设置于表冷器2与U型框架3出风侧之间;第二温度变送器52设置于U型框架3出风侧外部;所述U型框架3自上而下分为至少两段,所述循环热管分布在U型框架3的不同段中。本实用新型的温控调节装置可分为多段安装,在空间狭小的空调机房内,各分段可选择从前后两面分别插入,减少对空间的依赖,适用性更强。本实用新型的温控调节装置使用时可以根据地区气候、外部环境或空调系统风量等因素调整安装的循环热管数量,和/或电磁阀的数量,进而可以在保证洁净区环境温度的前提下最大限度回收利用自然能源,达到节能降耗的目的。
今年以来华海药业新获得专利授权7个,较去年同期增加了600%。结合公司2025年中报财务数据,2025上半年公司在研发方面投入了5.23亿元,同比增18.92%。
通过天眼查大数据分析,浙江华海药业股份有限公司共对外投资了55家企业,参与招投标项目27864次;财产线索方面有商标信息355条,专利信息750条,著作权信息4条;此外企业还拥有行政许可137个。
数据来源:天眼查APP
以上内容为证券之星据公开信息整理,由AI算法生成(网信算备310104345710301240019号),不构成投资建议。
目录 返回
首页
