中科环保获得发明专利授权:“一种垃圾焚烧烟气两级单循环余热利用系统及换热器”

图片来源于网络,如有侵权,请联系删除
证券之星消息,根据天眼查APP数据显示中科环保(301175)新获得一项发明专利授权,专利名为“一种垃圾焚烧烟气两级单循环余热利用系统及换热器”,专利申请号为CN202511462664.4,授权日为2026年2月17日。
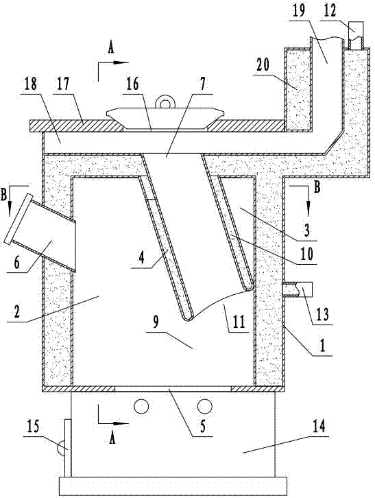
专利摘要:本发明涉及垃圾处理技术领域,尤其是一种垃圾焚烧烟气两级单循环余热利用系统及换热器,包括筒体,设置于所述筒体上的残渣收集组件,包括有设置于所述筒体端部的残渣分散件和设置于所述筒体内部的残渣运送压缩件,残渣分散件的端部设置有驱动件,所述残渣运送压缩件的内部设置有自除垢换热组件,当需要加热水时将水通入残渣运送压缩件内,此时往筒体内通入烟气,此时通过残渣分散件和残渣运送压缩件对烟气进行筛分并将杂质进行收集压实,然后烟气进入自除垢换热组件后通过自除垢换热组件对水进行加热,实现了对烟气杂质的收集压实。

图片来源于网络,如有侵权,请联系删除
今年以来中科环保新获得专利授权4个,较去年同期增加了100%。结合公司2025年中报财务数据,2025上半年公司在研发方面投入了2257.25万元,同比增30.41%。
通过天眼查大数据分析,北京中科润宇环保科技股份有限公司共对外投资了18家企业,参与招投标项目313次;财产线索方面有商标信息100条,专利信息132条,著作权信息21条;此外企业还拥有行政许可9个。
数据来源:天眼查APP
以上内容为证券之星据公开信息整理,由AI算法生成(网信算备310104345710301240019号),不构成投资建议。
目录 返回
首页
