中国电研获得实用新型专利授权:“一种管道内壁喷油润滑处理设备”

图片来源于网络,如有侵权,请联系删除
证券之星消息,根据天眼查APP数据显示中国电研(688128)新获得一项实用新型专利授权,专利名为“一种管道内壁喷油润滑处理设备”,专利申请号为CN202520383336.4,授权日为2026年2月24日。
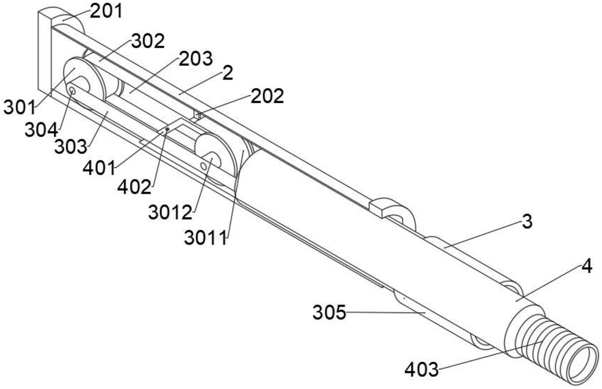
专利摘要:本实用新型涉及管道内壁喷油设备技术领域,且公开了一种管道内壁喷油润滑处理设备,使用单孔喷油形式,仅在U型管的一端进行喷油,杜绝了双孔喷油时U型管内压力无法泄压的缺点,通过单侧喷油配合排气嘴的泄压可维持U型管内相对低压状态,减少90%油雾从注油口外泄的能源浪费,并且改进后的管路内部没有循环腔,不会残留油,杜绝了滴油现象,消除传统喷油造成的安全隐患,在现有结构上可有效节约涂油量,在U型管的另一端设置有排气嘴,排气嘴为锥形设置,在喷油时能阻挡一部分气压,使U管内保持一定的挥发油雾化气压,并可在压力升高时充分泄压,能有效的使雾化状油雾在管道内保持压力使管壁涂油均匀,对生产的铝制换热器质量能良好控制。

图片来源于网络,如有侵权,请联系删除
今年以来中国电研新获得专利授权6个,较去年同期减少了53.85%。结合公司2025年中报财务数据,2025上半年公司在研发方面投入了1.82亿元,同比增8.7%。
通过天眼查大数据分析,中国电器科学研究院股份有限公司共对外投资了25家企业,参与招投标项目2159次;财产线索方面有商标信息31条,专利信息923条,著作权信息223条;此外企业还拥有行政许可30个。
数据来源:天眼查APP
以上内容为证券之星据公开信息整理,由AI算法生成(网信算备310104345710301240019号),不构成投资建议。
目录 返回
首页
