厚普股份获得实用新型专利授权:“一种LNG加注装置外接管口连接结构”

图片来源于网络,如有侵权,请联系删除
证券之星消息,根据天眼查APP数据显示厚普股份(300471)新获得一项实用新型专利授权,专利名为“一种LNG加注装置外接管口连接结构”,专利申请号为CN202520404949.1,授权日为2026年2月10日。
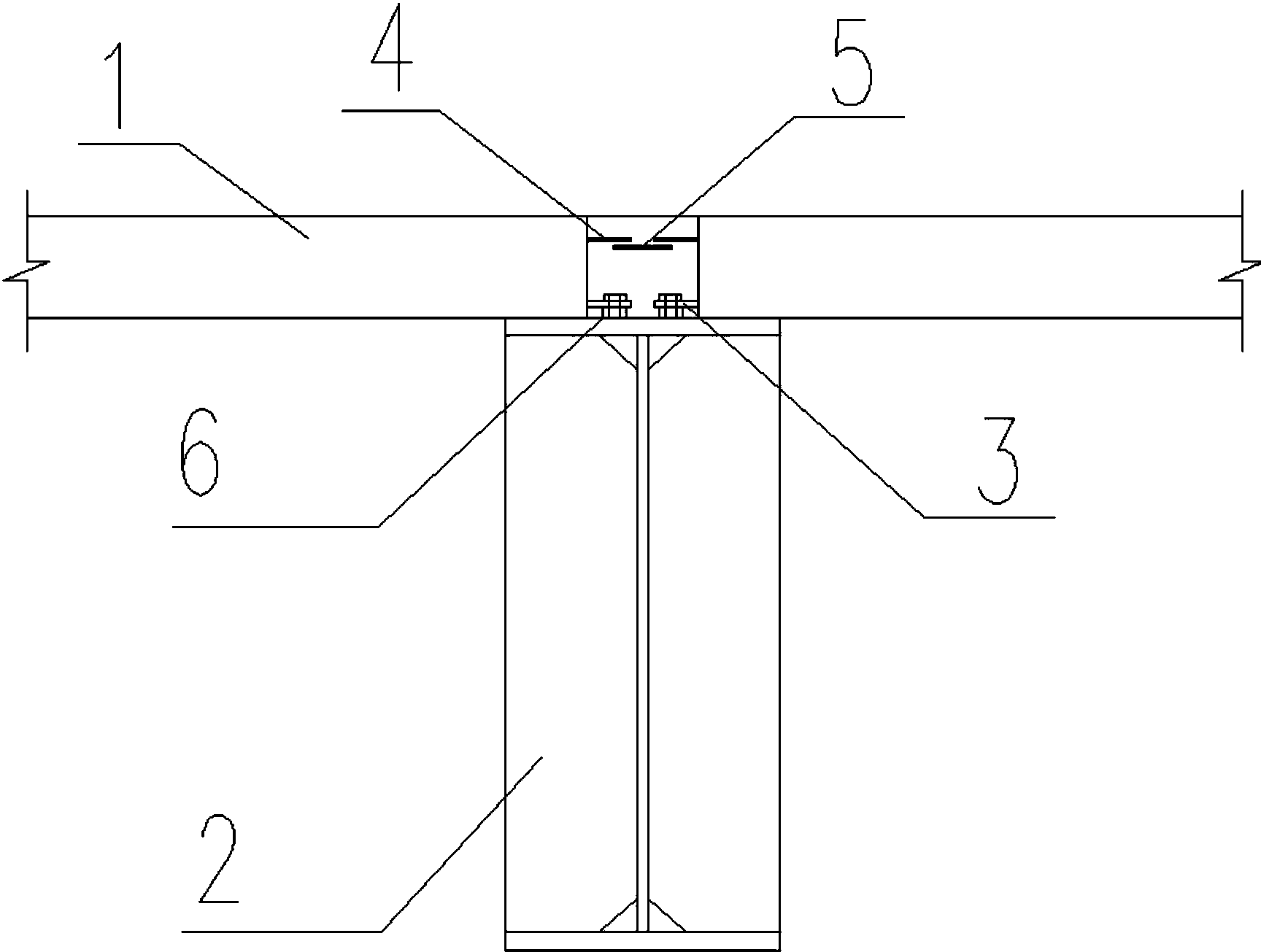
专利摘要:本实用新型涉及LNG加注设备技术领域,旨在解决现有技术中施焊成本较高、物料成本较高、工时较高、连接不严易泄漏和设备出厂前无法检测的问题,提供一种LNG加注装置外接管口连接结构,其包括外接管路;外接管路的连接端设有双承口管箍,外接管路靠近双承口管箍的一端焊接于双承口管箍;外接管路的外壁上夹持有卡箍,卡箍抵顶在双承口管箍上,卡箍的一端紧密的夹持在外接管路上,卡箍的另一端螺栓连接于测试工装。本实用新型的有益效果是结构简单、适用性强、成本低、工时低、连接处不易泄漏和设备出厂前便于检测。

图片来源于网络,如有侵权,请联系删除
今年以来厚普股份新获得专利授权2个。结合公司2025年中报财务数据,2025上半年公司在研发方面投入了1392.53万元,同比减17.51%。
通过天眼查大数据分析,厚普清洁能源(集团)股份有限公司共对外投资了24家企业,参与招投标项目806次;财产线索方面有商标信息128条,专利信息341条,著作权信息27条;此外企业还拥有行政许可87个。
数据来源:天眼查APP
以上内容为证券之星据公开信息整理,由AI算法生成(网信算备310104345710301240019号),不构成投资建议。
目录 返回
首页
