无锡振华获得实用新型专利授权:“后轮罩固定装置”

图片来源于网络,如有侵权,请联系删除
证券之星消息,根据天眼查APP数据显示无锡振华(605319)新获得一项实用新型专利授权,专利名为“后轮罩固定装置”,专利申请号为CN202520272537.7,授权日为2026年3月3日。
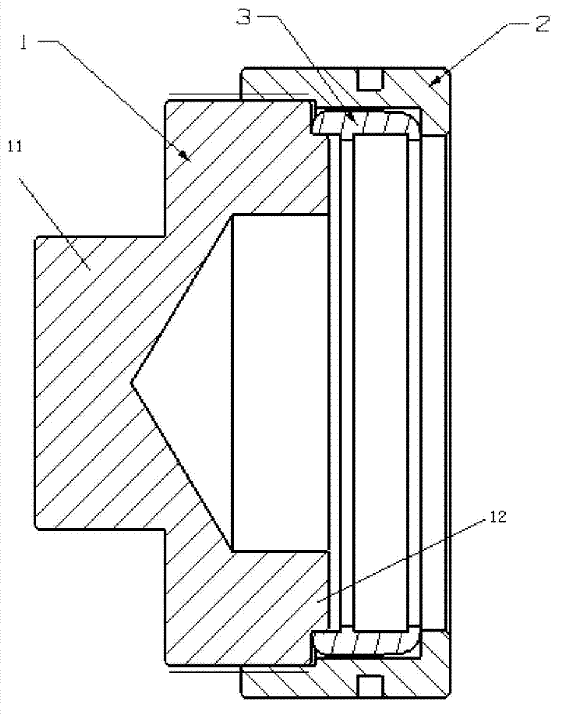
专利摘要:本实用新型涉及后轮罩固定装置,包括机架和夹持机构;所述机架上横向设置夹紧滑轨;所述机架上竖直设置第一固定盘;所述夹持机构包括支架、第一气缸和第二气缸;所述支架通过所述夹紧滑轨滑动连接所述机架;所述第一气缸连接所述支架;所述第二气缸连接所述第一气缸的伸缩端;所述第一气缸竖直设置;所述第二气缸横向设置并垂直所述第一固定盘;其中,所述第一气缸的伸缩端通过弹性伸缩杆连接所述第二气缸;所述第二气缸的伸缩端通过弹性伸缩杆连接抵接块和夹块;所述抵接块接触所述第一固定盘;所述夹块接触所述第一固定盘上的工件。本实用新型通过第一气缸和第二气缸的伸缩,可以灵活调整夹块的横向和竖直方向的位置,使夹块贴合工件。

图片来源于网络,如有侵权,请联系删除
今年以来无锡振华新获得专利授权10个,较去年同期增加了400%。结合公司2025年中报财务数据,2025上半年公司在研发方面投入了3338.38万元,同比增1.58%。
通过天眼查大数据分析,无锡市振华汽车部件股份有限公司共对外投资了9家企业,参与招投标项目7次;财产线索方面有商标信息9条,专利信息140条,著作权信息1条;此外企业还拥有行政许可198个。
数据来源:天眼查APP
以上内容为证券之星据公开信息整理,由AI算法生成(网信算备310104345710301240019号),不构成投资建议。
目录 返回
首页
