福事特获得实用新型专利授权:“一种可调节高度的硬管银焊工装夹具”

图片来源于网络,如有侵权,请联系删除
证券之星消息,根据天眼查APP数据显示福事特(301446)新获得一项实用新型专利授权,专利名为“一种可调节高度的硬管银焊工装夹具”,专利申请号为CN202520351808.8,授权日为2026年3月6日。
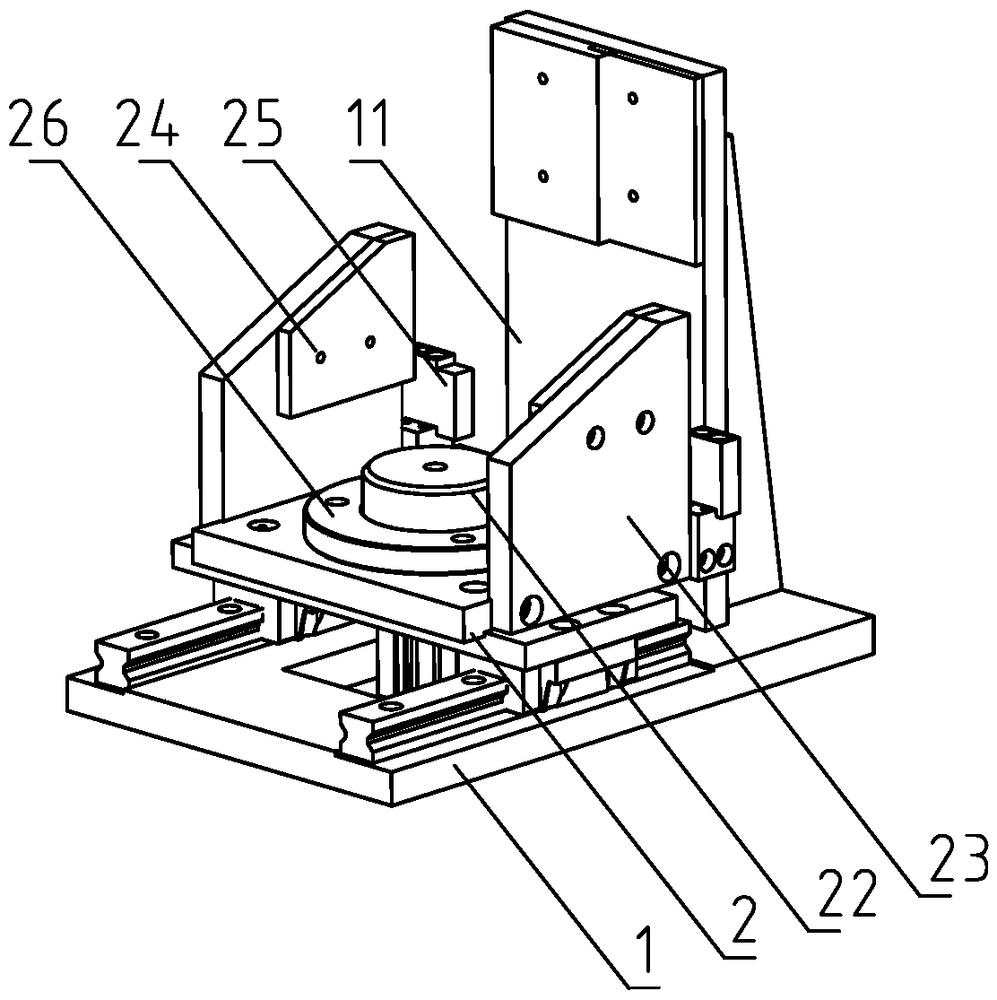
专利摘要:本实用新型属于银焊工装领域,具体涉及一种可调节高度的硬管银焊工装夹具,包括底板,所述底板的外壁固定连接有侧定位板,所述侧定位板的外壁固定连接有手摇滑台,所述手摇滑台上设置有转动组件,所述转动组件包括升降板,所述手摇滑台的活动端固定连接有升降板。该可调节高度的硬管银焊工装夹具通过转动棒带动主动齿轮旋转,通过与同步齿轮的啮合,使转动盘带动夹持组件旋转,从而实现被夹持硬管的同步旋转。在硬管与接头部分焊接后,无需松开再重新固定硬管,直接旋转转动棒就能让硬管带动接头旋转,将未焊接区域移动到焊接设备可操作的位置,简化了焊接流程,显著提高了焊接工作效率,有效提升了整体焊接作业的流畅性。

图片来源于网络,如有侵权,请联系删除
今年以来福事特新获得专利授权10个,较去年同期增加了900%。结合公司2025年中报财务数据,2025上半年公司在研发方面投入了1115.55万元,同比增34.02%。
通过天眼查大数据分析,江西福事特液压股份有限公司共对外投资了10家企业,参与招投标项目156次;财产线索方面有商标信息12条,专利信息86条,著作权信息1条;此外企业还拥有行政许可19个。
数据来源:天眼查APP
以上内容为证券之星据公开信息整理,由AI算法生成(网信算备310104345710301240019号),不构成投资建议。
目录 返回
首页
