岱峰财经

阳光电源获得发明专利授权:“一种集装箱式储能电站冷板的优化方法及装置”

04 04月
作者:小微|{/foreach}{/if}

阳光电源获得发明专利授权:“一种集装箱式储能电站冷板的优化方法及装置”
图片来源于网络,如有侵权,请联系删除

证券之星消息,根据天眼查APP数据显示阳光电源(300274)新获得一项发明专利授权,专利名为“一种集装箱式储能电站冷板的优化方法及装置”,专利申请号为CN202511937969.6,授权日为2026年4月3日。

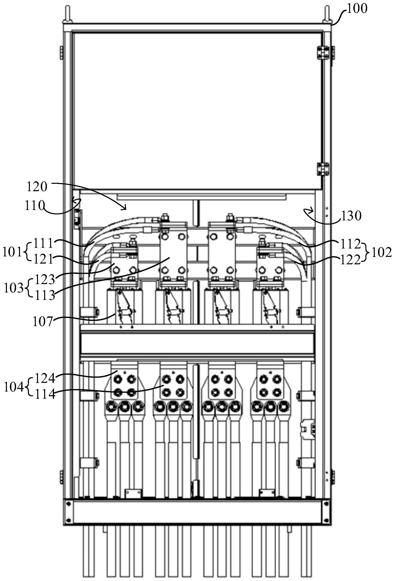
专利摘要:本发明涉及电化学储能系统热管理技术领域,公开了一种集装箱式储能电站冷板的优化方法及装置,该方法包括:建立多物理场耦合仿真模型;获取目标集装箱式储能电站冷板中分形流道的几何特征,将分形流道的几何特征输入多物理场耦合仿真模型中,得到性能指标;构建物理引导的机器学习代理模型;将分形流道的几何特征和性能指标作为样本数据,利用样本数据对物理引导的机器学习代理模型进行训练,得到训练后的机器学习代理模型;对训练后的机器学习代理模型进行多目标优化和拓扑调整,得到最优集装箱式储能电站冷板结构。本发明解决了因电池模组在集装箱内空间分布导致的热环境差异,显著提升了电化学储能系统的热管理效率与安全性。

阳光电源获得发明专利授权:“一种集装箱式储能电站冷板的优化方法及装置”
图片来源于网络,如有侵权,请联系删除

今年以来阳光电源新获得专利授权163个,较去年同期减少了20.1%。结合公司2025年年报财务数据,2025年公司在研发方面投入了41.75亿元,同比增31.97%。

通过天眼查大数据分析,阳光电源股份有限公司共对外投资了92家企业,参与招投标项目3713次;财产线索方面有商标信息1259条,专利信息5428条,著作权信息32条;此外企业还拥有行政许可132个。

数据来源:天眼查APP

以上内容为证券之星据公开信息整理,由AI算法生成(网信算备310104345710301240019号),不构成投资建议。

相关 ETF

浏览72.7k
返回
目录
返回
首页
“23万科MTN001”寻求展期 债项余额20亿元 中东危机引发全球市场动荡 中国资产成为新“避风港”

Copyright © 2024 dw 版权所有

备案号: 蜀ICP备2024051291号-16

岱峰财经专业为您提供经济要闻、独家热点、新讯首推、金融动态、基金股市、市场动态等财经方面资讯,岱峰财经是一个专业财经领域资讯服务者。

本站部分内容为转载,不代表本站立场,如有侵权请联系处理。