智立方获得实用新型专利授权:“一种高效自动组装电极针的机构”

图片来源于网络,如有侵权,请联系删除
证券之星消息,根据天眼查APP数据显示智立方(301312)新获得一项实用新型专利授权,专利名为“一种高效自动组装电极针的机构”,专利申请号为CN202422619467.6,授权日为2025年11月7日。
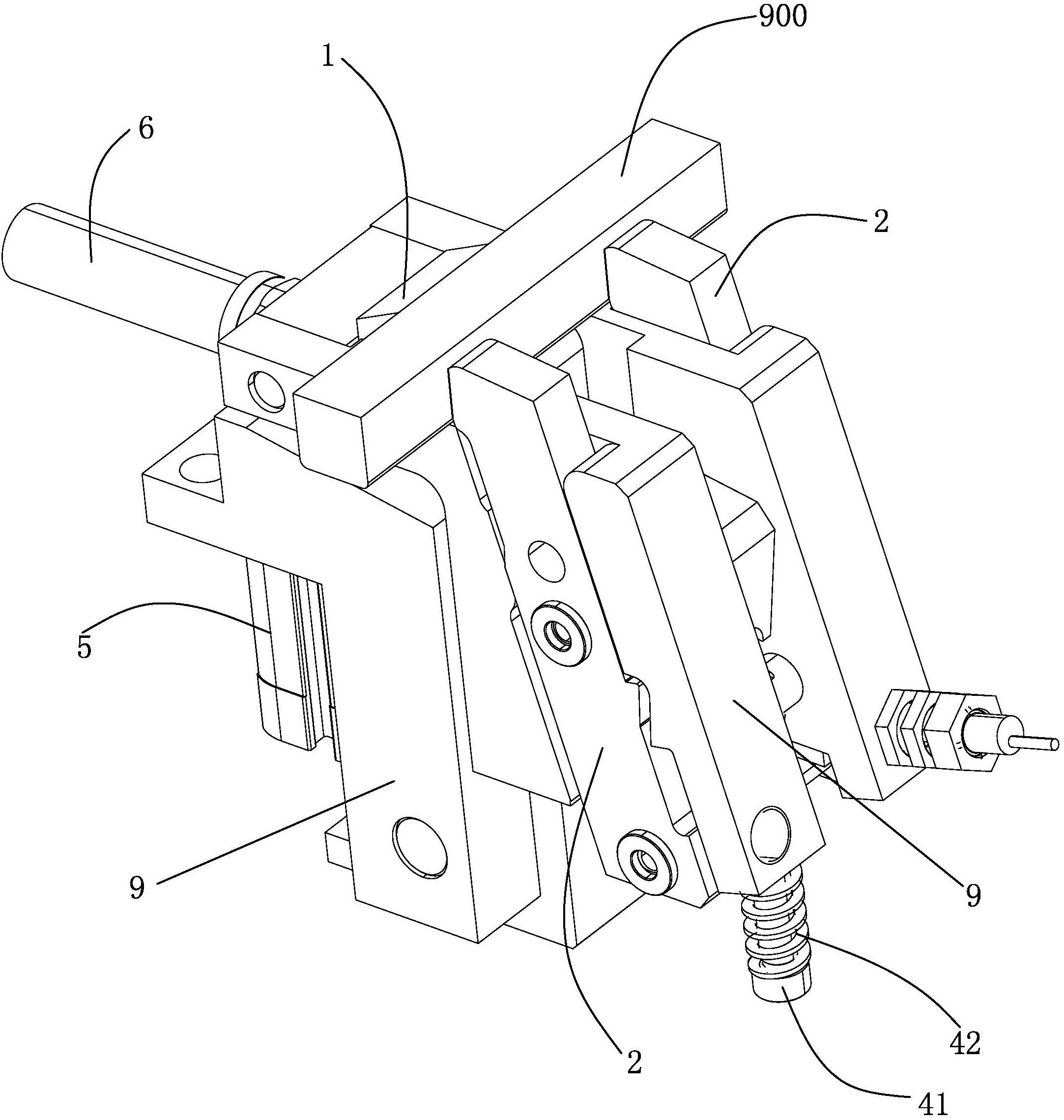
专利摘要:本实用新型涉及电极针组装技术领域,且公开了一种高效自动组装电极针的机构,包括底箱,所述底箱的顶部安装两个震动盘和两个圆振,所述底箱的顶部安装有三个PPU搬运模块,两个所述震动盘之间和两个圆振之间均安装有震动输送组件,两个所述震动输送组件之间安装有旋转平台组件,三个所述PPU搬运模块的底部分别安装有旋转方向组件、预装电极针组件和下料组件,所述底箱的顶部靠前端安装有压合电极针组件。通过震动输送组件和旋转平台组件,高速完成了产品底座和产品电极针的物料输送,能够自动旋转输送组装;通过预装电极针组件和压合电极针组件,完成电极针组装,提高精度和压合良率,从而大大的节约了装配时间。

图片来源于网络,如有侵权,请联系删除
今年以来智立方新获得专利授权20个,较去年同期减少了35.48%。结合公司2025年中报财务数据,今年上半年公司在研发方面投入了3360.69万元,同比增33.01%。
通过天眼查大数据分析,深圳市智立方自动化设备股份有限公司共对外投资了12家企业,参与招投标项目30次;财产线索方面有商标信息8条,专利信息287条,著作权信息66条;此外企业还拥有行政许可20个。
数据来源:天眼查APP
以上内容为证券之星据公开信息整理,由AI算法生成(网信算备310104345710301240019号),不构成投资建议。
目录 返回
首页
